Крупнейшая бесплатная информационно-справочная система онлайн доступа к полному собранию технических нормативно-правовых актов РФ. Огромная база технических нормативов (более 150 тысяч документов) и полное собрание национальных стандартов, аутентичное официальной базе Госстандарта. GOSTRF.com - это более 1 Терабайта бесплатной технической информации для всех пользователей интернета. Все электронные копии представленных здесь документов могут распространяться без каких-либо ограничений. Поощряется распространение информации с этого сайта на любых других ресурсах. Каждый человек имеет право на неограниченный доступ к этим документам! Каждый человек имеет право на знание требований, изложенных в данных нормативно-правовых актах!

  


 

ГОСТ Р 51559-2000

Трансформаторы силовые масляные классов напряжения 110 и 220 кВ и автотрансформаторы напряжением 27,5 кВ для электрических железных дорог переменного тока. Общие технические условия

Обозначение:ГОСТ Р 51559-2000
Текущий статус документа: действующий
Название документа рус.:Трансформаторы силовые масляные классов напряжения 110 и 220 кВ и автотрансформаторы напряжением 27,5 кВ для электрических железных дорог переменного тока. Общие технические условия
Название документа англ.:Ggeneral-purpose oil-immersed power transformers of 110 and 220 kV and autotransformers 27,5 kV for electric a. c. railway. General specifications
Дата актуализации текста:01.12.2013
Дата издания:24.04.2000
Дата введения:01.01.2001
Дата последнего изменения:22.05.2013
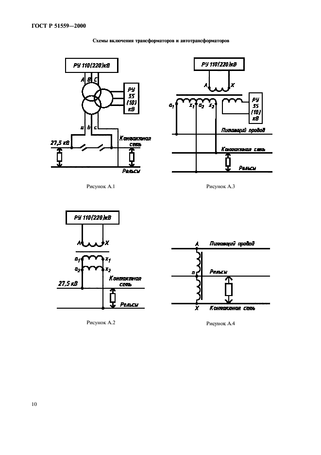
Область применения:Настоящий стандарт распространяется на силовые стационарные, масляные трансформаторы классов напряжения 110 и 220 кВ и автотрансформаторы напряжением 27,5 кВ, предназначенные для питания тяговых сетей электрических железных дорог переменного тока, электрофицированных по системам тягового электроснабжения 25 и 2х25 кВ
ГОСТ Р 51559-2000ГОСТ Р 51559-2000ГОСТ Р 51559-2000ГОСТ Р 51559-2000ГОСТ Р 51559-2000ГОСТ Р 51559-2000ГОСТ Р 51559-2000ГОСТ Р 51559-2000ГОСТ Р 51559-2000ГОСТ Р 51559-2000ГОСТ Р 51559-2000ГОСТ Р 51559-2000ГОСТ Р 51559-2000ГОСТ Р 51559-2000ГОСТ Р 51559-2000ГОСТ Р 51559-2000ГОСТ Р 51559-2000ГОСТ Р 51559-2000ГОСТ Р 51559-2000
 




ГОСТЫ, СТРОИТЕЛЬНЫЕ и ТЕХНИЧЕСКИЕ НОРМАТИВЫ.
Некоммерческая онлайн система, содержащая все Российские Госты, национальные Стандарты и нормативы.
В Системе содержится более 150000 файлов нормативно-технической документации, действующей на территории РФ.
Система предназначена для широкого круга инженерно-технических специалистов.

Рейтинг@Mail.ru Яндекс цитирования

Copyright © www.gostrf.com, 2008 - 2026