Крупнейшая бесплатная информационно-справочная система онлайн доступа к полному собранию технических нормативно-правовых актов РФ. Огромная база технических нормативов (более 150 тысяч документов) и полное собрание национальных стандартов, аутентичное официальной базе Госстандарта. GOSTRF.com - это более 1 Терабайта бесплатной технической информации для всех пользователей интернета. Все электронные копии представленных здесь документов могут распространяться без каких-либо ограничений. Поощряется распространение информации с этого сайта на любых других ресурсах. Каждый человек имеет право на неограниченный доступ к этим документам! Каждый человек имеет право на знание требований, изложенных в данных нормативно-правовых актах!

  


 

ГОСТ 27896-88

Резины, полимерные эластичные материалы, прорезиненные ткани и ткани с полимерным эластичным покрытием. Методы определения топливонепроницаемости

Обозначение:ГОСТ 27896-88
Текущий статус документа: действующий
Название документа рус.:Резины, полимерные эластичные материалы, прорезиненные ткани и ткани с полимерным эластичным покрытием. Методы определения топливонепроницаемости
Название документа англ.:Rubbers, polimer elastie materials, rubberized and elastie polimer coated fabries. Methods for determination of fuel permeability
Дата актуализации текста:01.12.2013
Дата издания:24.02.1989
Дата введения:30.06.1990
Дата последнего изменения:22.05.2013
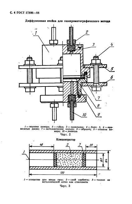
Область применения:Настоящий стандарт распространяется на резины, полимерные эластичные материалы, прорезиненные ткани, ткани с полимерным эластичным покрытием (далее - ткани) и изделия из них и устанавливает гравиметрический и газохроматографический методы определения проницаемости топлив (дизельных, реактивных), бензинов, индивидуальных жидких углеводородов и их смесей. Сущность гравиметрического метода заключается в определении изменения массы испытуемой среды, прошедшей через образец материала за определенное время, газохроматографического - в концентрации испытуемой среды, продиффундировавшей через материал за определенное время, на сорбенте с последующей термической десорбцией и количественном определении методом газовой хроматографии. Методы предназначены для контрольных и исследовательских испытаний
ГОСТ 27896-88ГОСТ 27896-88ГОСТ 27896-88ГОСТ 27896-88ГОСТ 27896-88ГОСТ 27896-88ГОСТ 27896-88ГОСТ 27896-88ГОСТ 27896-88ГОСТ 27896-88ГОСТ 27896-88ГОСТ 27896-88ГОСТ 27896-88ГОСТ 27896-88ГОСТ 27896-88ГОСТ 27896-88ГОСТ 27896-88ГОСТ 27896-88ГОСТ 27896-88
 




ГОСТЫ, СТРОИТЕЛЬНЫЕ и ТЕХНИЧЕСКИЕ НОРМАТИВЫ.
Некоммерческая онлайн система, содержащая все Российские Госты, национальные Стандарты и нормативы.
В Системе содержится более 150000 файлов нормативно-технической документации, действующей на территории РФ.
Система предназначена для широкого круга инженерно-технических специалистов.

Рейтинг@Mail.ru Яндекс цитирования

Copyright © www.gostrf.com, 2008 - 2026