Крупнейшая бесплатная информационно-справочная система онлайн доступа к полному собранию технических нормативно-правовых актов РФ. Огромная база технических нормативов (более 150 тысяч документов) и полное собрание национальных стандартов, аутентичное официальной базе Госстандарта. GOSTRF.com - это более 1 Терабайта бесплатной технической информации для всех пользователей интернета. Все электронные копии представленных здесь документов могут распространяться без каких-либо ограничений. Поощряется распространение информации с этого сайта на любых других ресурсах. Каждый человек имеет право на неограниченный доступ к этим документам! Каждый человек имеет право на знание требований, изложенных в данных нормативно-правовых актах!

  


 

ГОСТ 17494-87

Машины электрические вращающиеся. Классификация степеней защиты, обеспечиваемых оболочками вращающих электрических машин

Обозначение:ГОСТ 17494-87
Текущий статус документа: заменён
Название документа рус.:Машины электрические вращающиеся. Классификация степеней защиты, обеспечиваемых оболочками вращающих электрических машин
Название документа англ.:Rotating electrical machines. Classification of degrees of protection provided by enclosures for rotating machines
Дата актуализации текста:01.12.2013
Дата издания:05.11.1987
Дата введения:30.06.1988
Дата последнего изменения:22.05.2013
Дата окончания срока действия:01.01.2013
Заменяющий:ГОСТ IEC 60034-5-2011
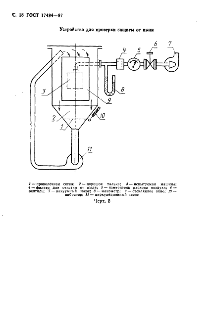
Область применения:Настоящий стандарт классифицирует степени защити, обеспечиваемые оболочками электрических вращающихся машин без ограничения мощности, частоты вращения и напряжения.
Стандарт устанавливает степени защиты персонала от прикосновения к токоведущим или движущимся частям, находящимся внутри машины, степени защиты от проникновения твердых инородных тел и воды внутрь машины, а также обозначения и методы испытаний степеней защиты. Стандарт устанавливает требования, которым должны удовлетворять защитные оболочки.
Стандарт распространяется только на оболочки, которые во всех других отношениях соответствуют их назначению, материалы и конструкция которых в нормальных условиях эксплуатации обеспечивают неизменность какой-либо степени защиты, предписанной настоящим стандартом.
Стандарт не устанавливает степени защиты машин от механических повреждений или от таких воздействий как влажность (возникающая, например, в результате конденсации), коррозионные пары, плесневые грибы и т. п., а также не указывает способов защиты машин, предназначенных для использования во взрывоопасной среде
Список изменений:№1 от 01.09.1989 (рег. 10.03.1989) «Срок действия продлен»
ГОСТ 17494-87ГОСТ 17494-87ГОСТ 17494-87ГОСТ 17494-87ГОСТ 17494-87ГОСТ 17494-87ГОСТ 17494-87ГОСТ 17494-87ГОСТ 17494-87ГОСТ 17494-87ГОСТ 17494-87ГОСТ 17494-87ГОСТ 17494-87ГОСТ 17494-87ГОСТ 17494-87ГОСТ 17494-87ГОСТ 17494-87ГОСТ 17494-87ГОСТ 17494-87ГОСТ 17494-87ГОСТ 17494-87ГОСТ 17494-87ГОСТ 17494-87ГОСТ 17494-87ГОСТ 17494-87
 




ГОСТЫ, СТРОИТЕЛЬНЫЕ и ТЕХНИЧЕСКИЕ НОРМАТИВЫ.
Некоммерческая онлайн система, содержащая все Российские Госты, национальные Стандарты и нормативы.
В Системе содержится более 150000 файлов нормативно-технической документации, действующей на территории РФ.
Система предназначена для широкого круга инженерно-технических специалистов.

Рейтинг@Mail.ru Яндекс цитирования

Copyright © www.gostrf.com, 2008 - 2026