Крупнейшая бесплатная информационно-справочная система онлайн доступа к полному собранию технических нормативно-правовых актов РФ. Огромная база технических нормативов (более 150 тысяч документов) и полное собрание национальных стандартов, аутентичное официальной базе Госстандарта. GOSTRF.com - это более 1 Терабайта бесплатной технической информации для всех пользователей интернета. Все электронные копии представленных здесь документов могут распространяться без каких-либо ограничений. Поощряется распространение информации с этого сайта на любых других ресурсах. Каждый человек имеет право на неограниченный доступ к этим документам! Каждый человек имеет право на знание требований, изложенных в данных нормативно-правовых актах!

  


 

ГОСТ 8.544-86

Государственная система обеспечения единства измерений. Относительная диэлектрическая проницаемость и тангенс угла потерь твердых диэлектриков. Методика выполнения измерений в диапазоне частот от 10 в ст. 9 до 10 в ст. 10 Гц

Обозначение:ГОСТ 8.544-86
Текущий статус документа: утратил силу в РФ
Название документа рус.:Государственная система обеспечения единства измерений. Относительная диэлектрическая проницаемость и тангенс угла потерь твердых диэлектриков. Методика выполнения измерений в диапазоне частот от 10 в ст. 9 до 10 в ст. 10 Гц
Название документа англ.:State system for ensuring the uniformity of measurements. Relative dielectric permittivity the loss tangent of solid dielectrics. Procedure of measure from 10 in 9 degree to 10 in 10 degree Hz
Дата актуализации текста:01.12.2013
Дата издания:09.07.1986
Дата введения:01.01.1987
Дата последнего изменения:22.05.2013
Дата окончания срока действия:01.06.2008
Взамен: МИ 367-83
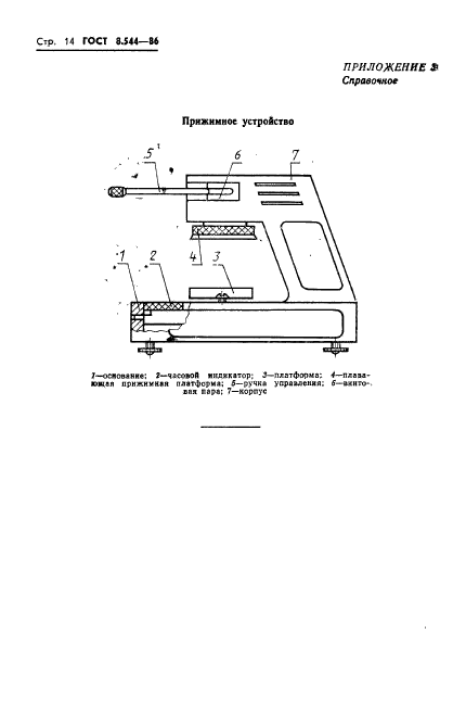
Область применения:Настоящий стандарт устанавливает методики выполнения измерений относительной диэлектрической проницаемости эпсилон и тангенса угла диэлектрических потерь tg дельта твердых диэлектриков:
с относительной диэлектрической проницаемостью эпсилон от 1,5 до 200 и тангенсом угла диэлектрических потерь tg дельта от 1х10 в ст. минус 4 до 1х10 в ст. минус 2 в диапазоне частот от 9х10 в ст. 9 до 10 в ст. 10 Гц при использовании метода “вариации длины резонатора“;
с относительной диэлектрической проницаемостью эпсилон от 2 до 40 и тангенсом угла диэлектрических потерь tg дельта от 5х10 в ст. минус 5 до 1х10 в ст. минус 3 в диапазоне частот от 10 в ст. 9 до 10 в ст. 10 Гц при использовании метода “вариации частоты и типов колебаний“
Список изменений:№0 от 01.06.2008 (рег. 27.12.2006) «Поправка к изменению»
ГОСТ 8.544-86ГОСТ 8.544-86ГОСТ 8.544-86ГОСТ 8.544-86ГОСТ 8.544-86ГОСТ 8.544-86ГОСТ 8.544-86ГОСТ 8.544-86ГОСТ 8.544-86ГОСТ 8.544-86ГОСТ 8.544-86ГОСТ 8.544-86ГОСТ 8.544-86ГОСТ 8.544-86ГОСТ 8.544-86ГОСТ 8.544-86ГОСТ 8.544-86ГОСТ 8.544-86ГОСТ 8.544-86ГОСТ 8.544-86ГОСТ 8.544-86ГОСТ 8.544-86ГОСТ 8.544-86
 




ГОСТЫ, СТРОИТЕЛЬНЫЕ и ТЕХНИЧЕСКИЕ НОРМАТИВЫ.
Некоммерческая онлайн система, содержащая все Российские Госты, национальные Стандарты и нормативы.
В Системе содержится более 150000 файлов нормативно-технической документации, действующей на территории РФ.
Система предназначена для широкого круга инженерно-технических специалистов.

Рейтинг@Mail.ru Яндекс цитирования

Copyright © www.gostrf.com, 2008 - 2026