Крупнейшая бесплатная информационно-справочная система онлайн доступа к полному собранию технических нормативно-правовых актов РФ. Огромная база технических нормативов (более 150 тысяч документов) и полное собрание национальных стандартов, аутентичное официальной базе Госстандарта. GOSTRF.com - это более 1 Терабайта бесплатной технической информации для всех пользователей интернета. Все электронные копии представленных здесь документов могут распространяться без каких-либо ограничений. Поощряется распространение информации с этого сайта на любых других ресурсах. Каждый человек имеет право на неограниченный доступ к этим документам! Каждый человек имеет право на знание требований, изложенных в данных нормативно-правовых актах!

  


 

ГОСТ Р 52448-2005

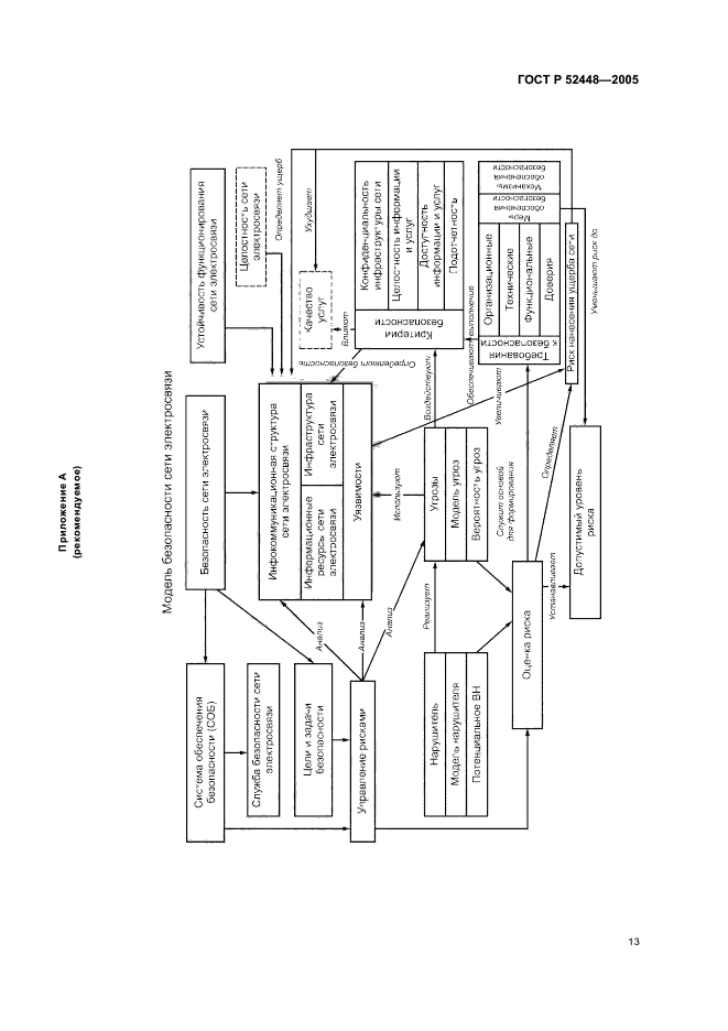
Защита информации. Обеспечение безопасности сетей электросвязи. Общие положения

Обозначение:ГОСТ Р 52448-2005
Текущий статус документа: действующий
Название документа рус.:Защита информации. Обеспечение безопасности сетей электросвязи. Общие положения
Название документа англ.:Information protection. Providing the security of networks telecommunications. General provisions
Дата актуализации текста:01.12.2013
Дата издания:01.04.2008
Дата введения:01.01.2007
Дата последнего изменения:22.05.2013
Переиздание:переиздание
Область применения:Настоящий стандарт предназначен для применения расположенными на территории Российской Федерации организациями, предприятиями и другими субъектами хозяйственной деятельности независимо от их организационно-правовой формы и формы собственности, которые связаны с созданием и эксплуатацией сетей электросвязи, являющимися составными компонентами сети связи общего пользования единой сети электросвязи Российской Федерации.
Настоящий стандарт определяет терминологию, цели, задачи, принципы и основные положения обеспечения безопасности сетей электросвязи
ГОСТ Р 52448-2005ГОСТ Р 52448-2005ГОСТ Р 52448-2005ГОСТ Р 52448-2005ГОСТ Р 52448-2005ГОСТ Р 52448-2005ГОСТ Р 52448-2005ГОСТ Р 52448-2005ГОСТ Р 52448-2005ГОСТ Р 52448-2005ГОСТ Р 52448-2005ГОСТ Р 52448-2005ГОСТ Р 52448-2005ГОСТ Р 52448-2005ГОСТ Р 52448-2005ГОСТ Р 52448-2005ГОСТ Р 52448-2005ГОСТ Р 52448-2005ГОСТ Р 52448-2005
 




ГОСТЫ, СТРОИТЕЛЬНЫЕ и ТЕХНИЧЕСКИЕ НОРМАТИВЫ.
Некоммерческая онлайн система, содержащая все Российские Госты, национальные Стандарты и нормативы.
В Системе содержится более 150000 файлов нормативно-технической документации, действующей на территории РФ.
Система предназначена для широкого круга инженерно-технических специалистов.

Рейтинг@Mail.ru Яндекс цитирования

Copyright © www.gostrf.com, 2008 - 2026