Крупнейшая бесплатная информационно-справочная система онлайн доступа к полному собранию технических нормативно-правовых актов РФ. Огромная база технических нормативов (более 150 тысяч документов) и полное собрание национальных стандартов, аутентичное официальной базе Госстандарта. GOSTRF.com - это более 1 Терабайта бесплатной технической информации для всех пользователей интернета. Все электронные копии представленных здесь документов могут распространяться без каких-либо ограничений. Поощряется распространение информации с этого сайта на любых других ресурсах. Каждый человек имеет право на неограниченный доступ к этим документам! Каждый человек имеет право на знание требований, изложенных в данных нормативно-правовых актах!

  


 

ГОСТ Р 52327-2005

Тара стеклянная для продуктов детского питания. Технические условия

Обозначение:ГОСТ Р 52327-2005
Текущий статус документа: действующий
Название документа рус.:Тара стеклянная для продуктов детского питания. Технические условия
Название документа англ.:Glass containers for children's food. Specifications
Дата актуализации текста:01.12.2013
Дата издания:01.11.2006
Дата введения:01.01.2006
Дата последнего изменения:22.05.2013
Переиздание:переиздание с поправкой
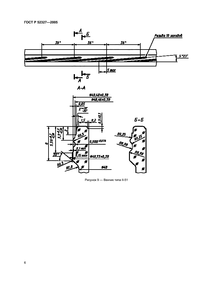
Область применения:Настоящий стандарт распространяется на стеклянную тару круглой формы - банки и бутылки, используемую в промышленном производстве продуктов детского питания (соков и консервов), при их транспортировании и хранении.
Стандарт устанавливает основные параметры и размеры изделий, требования к качеству, правилам приемки, методам контроля, упаковке, маркировке, транспортированию, хранению и условиям эксплуатации.
Стандарт не распространяется на банки под рыбные консервы для детского питания
Список изменений:№0 от 21.03.2006 (рег. 21.03.2006) «Дата введения перенесена»
Приложение №1:Поправка к ГОСТ Р 52327-2005
ГОСТ Р 52327-2005ГОСТ Р 52327-2005ГОСТ Р 52327-2005ГОСТ Р 52327-2005ГОСТ Р 52327-2005ГОСТ Р 52327-2005ГОСТ Р 52327-2005ГОСТ Р 52327-2005ГОСТ Р 52327-2005ГОСТ Р 52327-2005ГОСТ Р 52327-2005ГОСТ Р 52327-2005ГОСТ Р 52327-2005ГОСТ Р 52327-2005ГОСТ Р 52327-2005ГОСТ Р 52327-2005ГОСТ Р 52327-2005ГОСТ Р 52327-2005ГОСТ Р 52327-2005ГОСТ Р 52327-2005ГОСТ Р 52327-2005ГОСТ Р 52327-2005

Поправка к ГОСТ Р 52327-2005

Обозначение:Поправка к ГОСТ Р 52327-2005
Дата введения:20.03.2006


Поправка к ГОСТ Р 52327-2005
 




ГОСТЫ, СТРОИТЕЛЬНЫЕ и ТЕХНИЧЕСКИЕ НОРМАТИВЫ.
Некоммерческая онлайн система, содержащая все Российские Госты, национальные Стандарты и нормативы.
В Системе содержится более 150000 файлов нормативно-технической документации, действующей на территории РФ.
Система предназначена для широкого круга инженерно-технических специалистов.

Рейтинг@Mail.ru Яндекс цитирования

Copyright © www.gostrf.com, 2008 - 2026