Крупнейшая бесплатная информационно-справочная система онлайн доступа к полному собранию технических нормативно-правовых актов РФ. Огромная база технических нормативов (более 150 тысяч документов) и полное собрание национальных стандартов, аутентичное официальной базе Госстандарта. GOSTRF.com - это более 1 Терабайта бесплатной технической информации для всех пользователей интернета. Все электронные копии представленных здесь документов могут распространяться без каких-либо ограничений. Поощряется распространение информации с этого сайта на любых других ресурсах. Каждый человек имеет право на неограниченный доступ к этим документам! Каждый человек имеет право на знание требований, изложенных в данных нормативно-правовых актах!

  


 

ГОСТ 981-75

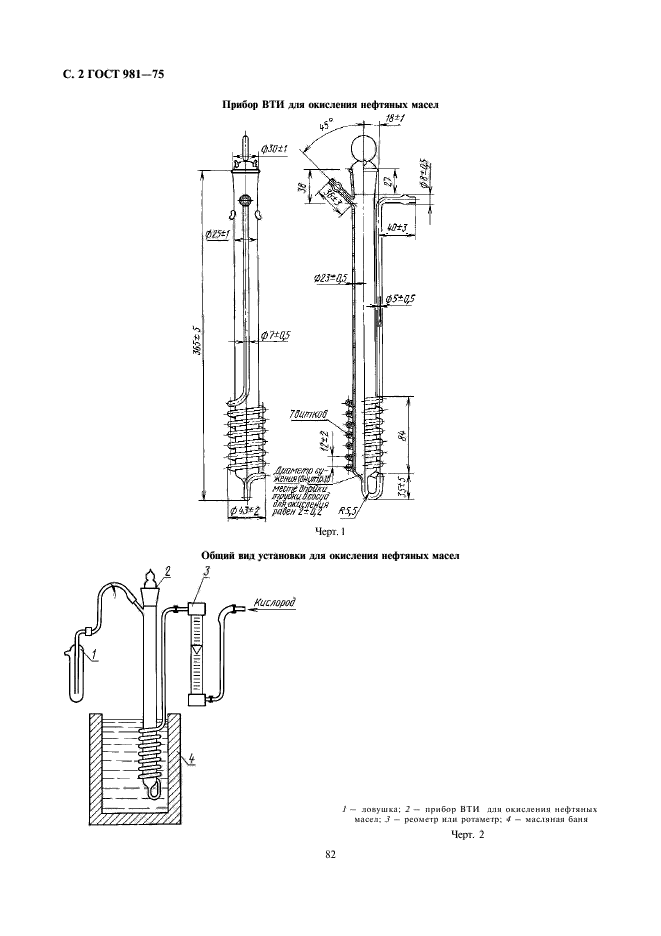
Масла нефтяные. Метод определения стабильности против окисления

Обозначение:ГОСТ 981-75
Текущий статус документа: действующий
Название документа рус.:Масла нефтяные. Метод определения стабильности против окисления
Название документа англ.:Mineral oils. Method for determination of oxidation stability
Дата актуализации текста:01.12.2013
Дата издания:01.03.2006
Дата введения:30.06.1976
Дата последнего изменения:22.05.2013
Переиздание:переиздание с изм. 1
Область применения:Настоящий стандарт распространяется на нефтяные масла с присадками и без присадок и устанавливает метод определения стабильности против окисления трансформаторных, турбинных и других нефтяных масел
Список изменений:№0 от 24.12.1987 (рег. 24.12.1987) «Срок действия продлен»
№1 от 01.09.1978 (рег. 06.06.1978) «Срок действия продлен»
№2 от 01.12.1981 (рег. 29.07.1981) «Срок действия продлен»
№3 от 01.01.1986 (рег. 27.09.1985) «Срок действия продлен»
№4 от 01.03.1991 (рег. 04.09.1990) «Поправка»
ГОСТ 981-75ГОСТ 981-75ГОСТ 981-75ГОСТ 981-75ГОСТ 981-75ГОСТ 981-75ГОСТ 981-75
 




ГОСТЫ, СТРОИТЕЛЬНЫЕ и ТЕХНИЧЕСКИЕ НОРМАТИВЫ.
Некоммерческая онлайн система, содержащая все Российские Госты, национальные Стандарты и нормативы.
В Системе содержится более 150000 файлов нормативно-технической документации, действующей на территории РФ.
Система предназначена для широкого круга инженерно-технических специалистов.

Рейтинг@Mail.ru Яндекс цитирования

Copyright © www.gostrf.com, 2008 - 2026