Крупнейшая бесплатная информационно-справочная система онлайн доступа к полному собранию технических нормативно-правовых актов РФ. Огромная база технических нормативов (более 150 тысяч документов) и полное собрание национальных стандартов, аутентичное официальной базе Госстандарта. GOSTRF.com - это более 1 Терабайта бесплатной технической информации для всех пользователей интернета. Все электронные копии представленных здесь документов могут распространяться без каких-либо ограничений. Поощряется распространение информации с этого сайта на любых других ресурсах. Каждый человек имеет право на неограниченный доступ к этим документам! Каждый человек имеет право на знание требований, изложенных в данных нормативно-правовых актах!

  


 

ГОСТ 30493-96

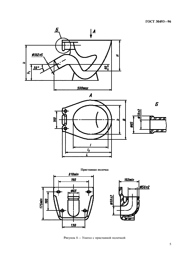
Изделия санитарные керамические. Типы и основные размеры

Обозначение:ГОСТ 30493-96
Текущий статус документа: действующий
Название документа рус.:Изделия санитарные керамические. Типы и основные размеры
Название документа англ.:Ceramic sanitary ware. Types and principal dimensions
Дата актуализации текста:01.12.2013
Дата издания:01.07.2006
Дата введения:30.06.1998
Дата последнего изменения:22.05.2013
Переиздание:переиздание
Взамен: СТ СЭВ 1002-78
Область применения:Настоящий стандарт распространяется на санитарные керамические (фарфоровые, полуфарфоровые и фаянсовые) умывальники, пьедесталы для умывальников, унитазы, смывные бачки, биде , писсуары и устанавливает их типы и основные размеры
Список изменений:№0 от 01.11.2007 (рег. 01.11.2007) «Дата введения перенесена»
Приложение №1:Поправка к ГОСТ 30493-96
ГОСТ 30493-96ГОСТ 30493-96ГОСТ 30493-96ГОСТ 30493-96ГОСТ 30493-96ГОСТ 30493-96ГОСТ 30493-96ГОСТ 30493-96ГОСТ 30493-96ГОСТ 30493-96ГОСТ 30493-96ГОСТ 30493-96ГОСТ 30493-96ГОСТ 30493-96ГОСТ 30493-96ГОСТ 30493-96

Поправка к ГОСТ 30493-96

Обозначение:Поправка к ГОСТ 30493-96
Дата введения:01.11.2007


Поправка к ГОСТ 30493-96
 




ГОСТЫ, СТРОИТЕЛЬНЫЕ и ТЕХНИЧЕСКИЕ НОРМАТИВЫ.
Некоммерческая онлайн система, содержащая все Российские Госты, национальные Стандарты и нормативы.
В Системе содержится более 150000 файлов нормативно-технической документации, действующей на территории РФ.
Система предназначена для широкого круга инженерно-технических специалистов.

Рейтинг@Mail.ru Яндекс цитирования

Copyright © www.gostrf.com, 2008 - 2026