Крупнейшая бесплатная информационно-справочная система онлайн доступа к полному собранию технических нормативно-правовых актов РФ. Огромная база технических нормативов (более 150 тысяч документов) и полное собрание национальных стандартов, аутентичное официальной базе Госстандарта. GOSTRF.com - это более 1 Терабайта бесплатной технической информации для всех пользователей интернета. Все электронные копии представленных здесь документов могут распространяться без каких-либо ограничений. Поощряется распространение информации с этого сайта на любых других ресурсах. Каждый человек имеет право на неограниченный доступ к этим документам! Каждый человек имеет право на знание требований, изложенных в данных нормативно-правовых актах!

  


 

ГОСТ 10117.2-2001

Бутылки стеклянные для пищевых жидкостей. Типы, параметры и основные размеры

Обозначение:ГОСТ 10117.2-2001
Текущий статус документа: действующий
Название документа рус.:Бутылки стеклянные для пищевых жидкостей. Типы, параметры и основные размеры
Название документа англ.:Glass bottles for food liquids. Types, parameters and main dimensions
Дата актуализации текста:01.12.2013
Дата издания:01.11.2006
Дата введения:01.01.2003
Дата последнего изменения:22.05.2013
Переиздание:переиздание с поправками
Взамен в части: в части разд. 1
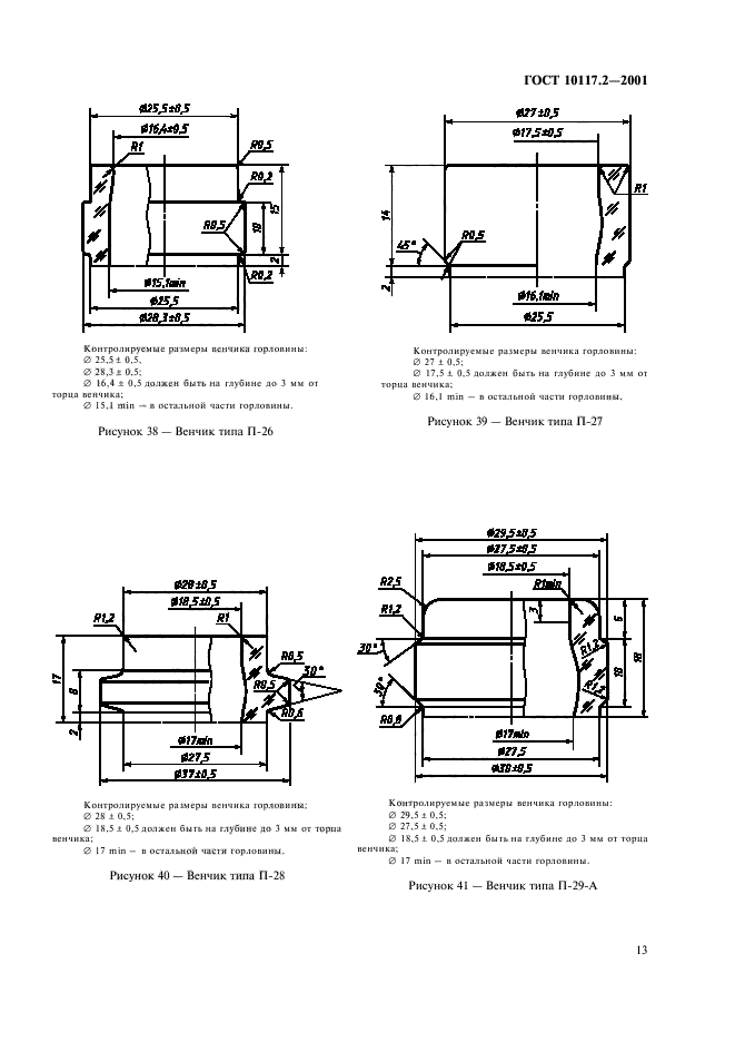
Область применения:Настоящий стандарт распространяется на стеклянные бутылки круглой формы, предназначенные для пищевых жидкостей, и устанавливает их типы, параметры и основные размеры
Список изменений:№0 от 20.11.2002 (рег. 20.11.2002) «Дата введения перенесена»
№0 от 24.09.2003 (рег. 24.09.2003) «Дата введения перенесена»
№0 от 01.01.2004 (рег. 01.01.2004) «Дата введения перенесена»
№0 от 01.01.2011 (рег. 14.07.2010) «Поправка к изменению»
Приложение №1:Поправка к ГОСТ 10117.2-2001
Приложение №2:Поправка к ГОСТ 10117.2-2001
Приложение №3:Поправка к ГОСТ 10117.2-2001
ГОСТ 10117.2-2001ГОСТ 10117.2-2001ГОСТ 10117.2-2001ГОСТ 10117.2-2001ГОСТ 10117.2-2001ГОСТ 10117.2-2001ГОСТ 10117.2-2001ГОСТ 10117.2-2001ГОСТ 10117.2-2001ГОСТ 10117.2-2001ГОСТ 10117.2-2001ГОСТ 10117.2-2001ГОСТ 10117.2-2001ГОСТ 10117.2-2001ГОСТ 10117.2-2001ГОСТ 10117.2-2001ГОСТ 10117.2-2001ГОСТ 10117.2-2001ГОСТ 10117.2-2001ГОСТ 10117.2-2001ГОСТ 10117.2-2001ГОСТ 10117.2-2001ГОСТ 10117.2-2001ГОСТ 10117.2-2001ГОСТ 10117.2-2001ГОСТ 10117.2-2001

Поправка к ГОСТ 10117.2-2001

Обозначение:Поправка к ГОСТ 10117.2-2001
Дата введения:20.11.2002


Поправка к ГОСТ 10117.2-2001

Поправка к ГОСТ 10117.2-2001

Обозначение:Поправка к ГОСТ 10117.2-2001
Дата введения:24.09.2003


Поправка к ГОСТ 10117.2-2001

Поправка к ГОСТ 10117.2-2001

Обозначение:Поправка к ГОСТ 10117.2-2001
Дата введения:01.01.2004


Поправка к ГОСТ 10117.2-2001
 




ГОСТЫ, СТРОИТЕЛЬНЫЕ и ТЕХНИЧЕСКИЕ НОРМАТИВЫ.
Некоммерческая онлайн система, содержащая все Российские Госты, национальные Стандарты и нормативы.
В Системе содержится более 150000 файлов нормативно-технической документации, действующей на территории РФ.
Система предназначена для широкого круга инженерно-технических специалистов.

Рейтинг@Mail.ru Яндекс цитирования

Copyright © www.gostrf.com, 2008 - 2026