Крупнейшая бесплатная информационно-справочная система онлайн доступа к полному собранию технических нормативно-правовых актов РФ. Огромная база технических нормативов (более 150 тысяч документов) и полное собрание национальных стандартов, аутентичное официальной базе Госстандарта. GOSTRF.com - это более 1 Терабайта бесплатной технической информации для всех пользователей интернета. Все электронные копии представленных здесь документов могут распространяться без каких-либо ограничений. Поощряется распространение информации с этого сайта на любых других ресурсах. Каждый человек имеет право на неограниченный доступ к этим документам! Каждый человек имеет право на знание требований, изложенных в данных нормативно-правовых актах!

  


 

ГОСТ 12876-67

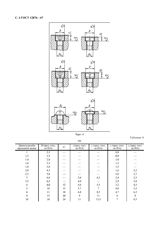
Поверхности опорные под крепежные детали. Размеры

Обозначение:ГОСТ 12876-67
Текущий статус документа: действующий
Название документа рус.:Поверхности опорные под крепежные детали. Размеры
Название документа англ.:Bearing surface under fasteners. Dimensions
Дата актуализации текста:01.12.2013
Дата издания:01.08.2006
Дата введения:01.01.1969
Дата последнего изменения:22.05.2013
Переиздание:переиздание с изм. 4
Взамен:МН 5016-63
Область применения:Настоящий стандарт распространяется на опорные поверхности под крепежные детали с диаметром стержня от 1 до 48 мм, изготовляемые по государственным стандартам
Список изменений:№2 от 01.09.1974 (рег. 06.06.1974) «Срок действия продлен»
№3 от 01.10.1980 (рег. 10.06.1980) «Срок действия продлен»
№4 от 01.01.1984 (рег. 14.04.1983) «Срок действия продлен»
ГОСТ 12876-67ГОСТ 12876-67ГОСТ 12876-67ГОСТ 12876-67ГОСТ 12876-67ГОСТ 12876-67ГОСТ 12876-67
 




ГОСТЫ, СТРОИТЕЛЬНЫЕ и ТЕХНИЧЕСКИЕ НОРМАТИВЫ.
Некоммерческая онлайн система, содержащая все Российские Госты, национальные Стандарты и нормативы.
В Системе содержится более 150000 файлов нормативно-технической документации, действующей на территории РФ.
Система предназначена для широкого круга инженерно-технических специалистов.

Рейтинг@Mail.ru Яндекс цитирования

Copyright © www.gostrf.com, 2008 - 2026