Крупнейшая бесплатная информационно-справочная система онлайн доступа к полному собранию технических нормативно-правовых актов РФ. Огромная база технических нормативов (более 150 тысяч документов) и полное собрание национальных стандартов, аутентичное официальной базе Госстандарта. GOSTRF.com - это более 1 Терабайта бесплатной технической информации для всех пользователей интернета. Все электронные копии представленных здесь документов могут распространяться без каких-либо ограничений. Поощряется распространение информации с этого сайта на любых других ресурсах. Каждый человек имеет право на неограниченный доступ к этим документам! Каждый человек имеет право на знание требований, изложенных в данных нормативно-правовых актах!

  


 

ГОСТ 23.220-84

Обеспечение износостойкости изделий. Метод оценки истирающей способности поверхностей восстановленных валов

Обозначение:ГОСТ 23.220-84
Текущий статус документа: действующий
Название документа рус.:Обеспечение износостойкости изделий. Метод оценки истирающей способности поверхностей восстановленных валов
Название документа англ.:Products wear resistance assurance. Evaluation method of abrasive ability of reestablished shafts surfaces
Дата актуализации текста:01.12.2013
Дата издания:01.09.2005
Дата введения:30.06.1985
Дата последнего изменения:22.05.2013
Переиздание:переиздание
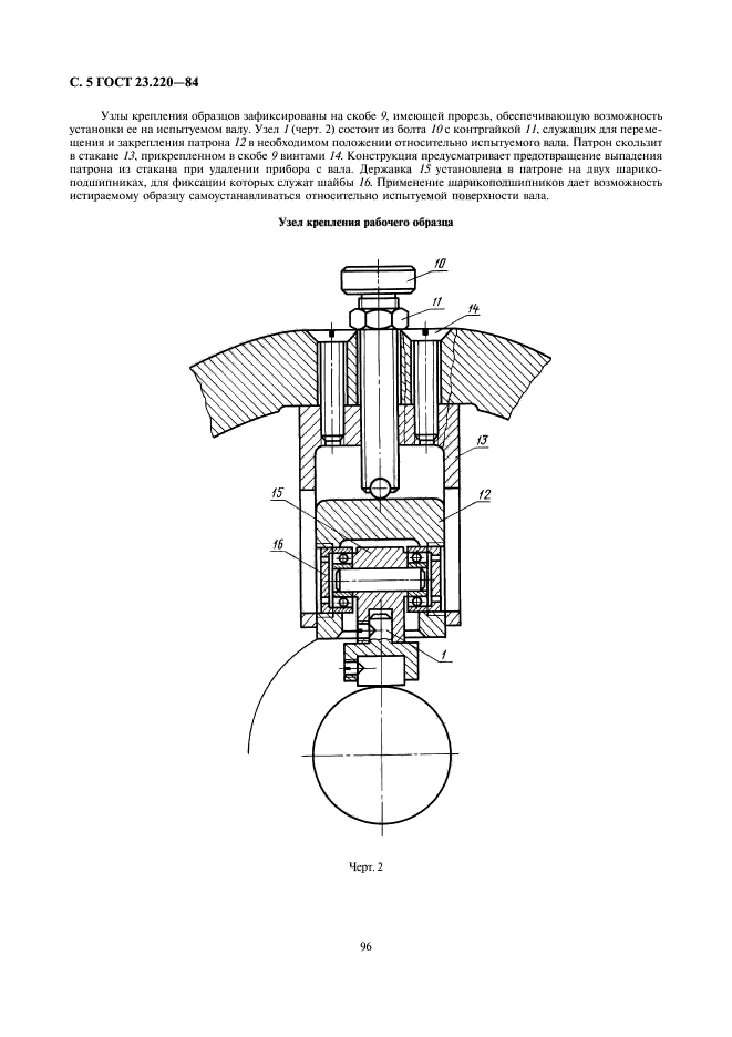
Область применения:Стандарт распространяется на поверхности восстановленных валов диаметром от 10 до 100 мм из металлических материалов с шероховатостью Ra не менее 0,16 мкм и твердостью не менее 30 HV и устанавливает метод экспериментальной оценки истирающей способности поверхности восстановленных валов длиной вдоль цилиндрической образующей не менее 30 мм после их финишной обработки
ГОСТ 23.220-84ГОСТ 23.220-84ГОСТ 23.220-84ГОСТ 23.220-84ГОСТ 23.220-84ГОСТ 23.220-84
 




ГОСТЫ, СТРОИТЕЛЬНЫЕ и ТЕХНИЧЕСКИЕ НОРМАТИВЫ.
Некоммерческая онлайн система, содержащая все Российские Госты, национальные Стандарты и нормативы.
В Системе содержится более 150000 файлов нормативно-технической документации, действующей на территории РФ.
Система предназначена для широкого круга инженерно-технических специалистов.

Рейтинг@Mail.ru Яндекс цитирования

Copyright © www.gostrf.com, 2008 - 2026