Крупнейшая бесплатная информационно-справочная система онлайн доступа к полному собранию технических нормативно-правовых актов РФ. Огромная база технических нормативов (более 150 тысяч документов) и полное собрание национальных стандартов, аутентичное официальной базе Госстандарта. GOSTRF.com - это более 1 Терабайта бесплатной технической информации для всех пользователей интернета. Все электронные копии представленных здесь документов могут распространяться без каких-либо ограничений. Поощряется распространение информации с этого сайта на любых других ресурсах. Каждый человек имеет право на неограниченный доступ к этим документам! Каждый человек имеет право на знание требований, изложенных в данных нормативно-правовых актах!

  


 

ГОСТ 26772-85

Машины электрические вращающиеся. Обозначение выводов и направление вращения

Обозначение:ГОСТ 26772-85
Текущий статус документа: действующий
Название документа рус.:Машины электрические вращающиеся. Обозначение выводов и направление вращения
Название документа англ.:Rotating electrical machines. Terminal markings and direction of rotation
Дата актуализации текста:01.12.2013
Дата издания:28.03.1986
Дата введения:01.01.1987
Дата последнего изменения:22.05.2013
Взамен в части: в части пп. 5.1 - 5.9
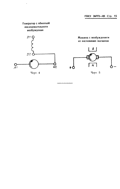
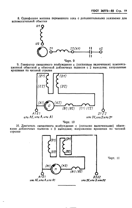
Область применения:Настоящий стандарт распространяется на все виды электрических машин постоянного и переменного тока и устанавливает обозначение выводов их обмоток. Обозначения выводов буквами латинского алфавита распространяются только на вновь разрабатываемые машины. Обозначения выводов буквами русского алфавита распространяются только на ранее разработанные и модернизированные машины
Список изменений:№1 от 01.01.1989 (рег. 13.10.1988) «Срок действия продлен»
ГОСТ 26772-85ГОСТ 26772-85ГОСТ 26772-85ГОСТ 26772-85ГОСТ 26772-85ГОСТ 26772-85ГОСТ 26772-85ГОСТ 26772-85ГОСТ 26772-85ГОСТ 26772-85ГОСТ 26772-85ГОСТ 26772-85ГОСТ 26772-85ГОСТ 26772-85ГОСТ 26772-85ГОСТ 26772-85ГОСТ 26772-85ГОСТ 26772-85ГОСТ 26772-85ГОСТ 26772-85ГОСТ 26772-85ГОСТ 26772-85ГОСТ 26772-85
 




ГОСТЫ, СТРОИТЕЛЬНЫЕ и ТЕХНИЧЕСКИЕ НОРМАТИВЫ.
Некоммерческая онлайн система, содержащая все Российские Госты, национальные Стандарты и нормативы.
В Системе содержится более 150000 файлов нормативно-технической документации, действующей на территории РФ.
Система предназначена для широкого круга инженерно-технических специалистов.

Рейтинг@Mail.ru Яндекс цитирования

Copyright © www.gostrf.com, 2008 - 2026