Крупнейшая бесплатная информационно-справочная система онлайн доступа к полному собранию технических нормативно-правовых актов РФ. Огромная база технических нормативов (более 150 тысяч документов) и полное собрание национальных стандартов, аутентичное официальной базе Госстандарта. GOSTRF.com - это более 1 Терабайта бесплатной технической информации для всех пользователей интернета. Все электронные копии представленных здесь документов могут распространяться без каких-либо ограничений. Поощряется распространение информации с этого сайта на любых других ресурсах. Каждый человек имеет право на неограниченный доступ к этим документам! Каждый человек имеет право на знание требований, изложенных в данных нормативно-правовых актах!

  


 

ГОСТ 21251-85

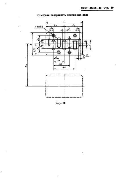
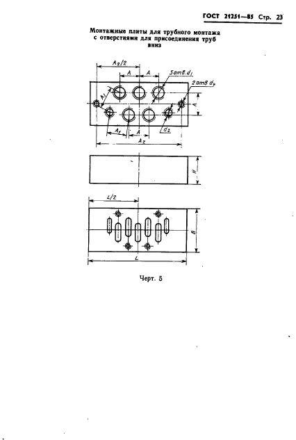
Пневмораспределители пятилинейные золотниковые. Технические условия

Обозначение:ГОСТ 21251-85
Текущий статус документа: действующий
Название документа рус.:Пневмораспределители пятилинейные золотниковые. Технические условия
Название документа англ.:Spool-type pneumatic directional control valves with 5 ports. Specifications
Дата актуализации текста:01.12.2013
Дата издания:06.03.1986
Дата введения:01.01.1987
Дата последнего изменения:22.05.2013
Область применения:Настоящий стандарт распространяется на пятилинейные пневмораспределители для пневмоприводов на номинальное давление 1,0 МПа с цилиндрическим золотником и эластичными уплотнителями, изготовляемые для нужд народного хозяйства и для экспорта.
Стандарт не распространяется на распределители тормозных систем транспортных средств
Список изменений:№1 от 01.07.1993 (рег. 27.08.1992) «Срок действия продлен»
ГОСТ 21251-85ГОСТ 21251-85ГОСТ 21251-85ГОСТ 21251-85ГОСТ 21251-85ГОСТ 21251-85ГОСТ 21251-85ГОСТ 21251-85ГОСТ 21251-85ГОСТ 21251-85ГОСТ 21251-85ГОСТ 21251-85ГОСТ 21251-85ГОСТ 21251-85ГОСТ 21251-85ГОСТ 21251-85ГОСТ 21251-85ГОСТ 21251-85ГОСТ 21251-85ГОСТ 21251-85ГОСТ 21251-85ГОСТ 21251-85ГОСТ 21251-85ГОСТ 21251-85ГОСТ 21251-85ГОСТ 21251-85ГОСТ 21251-85ГОСТ 21251-85ГОСТ 21251-85ГОСТ 21251-85ГОСТ 21251-85ГОСТ 21251-85ГОСТ 21251-85ГОСТ 21251-85ГОСТ 21251-85ГОСТ 21251-85ГОСТ 21251-85ГОСТ 21251-85ГОСТ 21251-85ГОСТ 21251-85ГОСТ 21251-85ГОСТ 21251-85ГОСТ 21251-85ГОСТ 21251-85ГОСТ 21251-85ГОСТ 21251-85
 




ГОСТЫ, СТРОИТЕЛЬНЫЕ и ТЕХНИЧЕСКИЕ НОРМАТИВЫ.
Некоммерческая онлайн система, содержащая все Российские Госты, национальные Стандарты и нормативы.
В Системе содержится более 150000 файлов нормативно-технической документации, действующей на территории РФ.
Система предназначена для широкого круга инженерно-технических специалистов.

Рейтинг@Mail.ru Яндекс цитирования

Copyright © www.gostrf.com, 2008 - 2026