Крупнейшая бесплатная информационно-справочная система онлайн доступа к полному собранию технических нормативно-правовых актов РФ. Огромная база технических нормативов (более 150 тысяч документов) и полное собрание национальных стандартов, аутентичное официальной базе Госстандарта. GOSTRF.com - это более 1 Терабайта бесплатной технической информации для всех пользователей интернета. Все электронные копии представленных здесь документов могут распространяться без каких-либо ограничений. Поощряется распространение информации с этого сайта на любых других ресурсах. Каждый человек имеет право на неограниченный доступ к этим документам! Каждый человек имеет право на знание требований, изложенных в данных нормативно-правовых актах!

  


 

ГОСТ 8847-85

Полотна трикотажные. Методы определения разрывных характеристик и растяжимости при нагрузках, меньше разрывных

Обозначение:ГОСТ 8847-85
Текущий статус документа: действующий
Название документа рус.:Полотна трикотажные. Методы определения разрывных характеристик и растяжимости при нагрузках, меньше разрывных
Название документа англ.:Knitted fabrics. Methods for determination of breaking characteristics and extensibility under loads less than breaking loads
Дата актуализации текста:01.12.2013
Дата издания:11.02.1986
Дата введения:01.01.1987
Дата последнего изменения:22.05.2013
Заменяющий в части: разд. 4 в части метода определения необратимой деформации
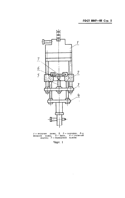
Область применения:Настоящий стандарт распространяется на отделанные трикотажные полотна и искусственный трикотажный мех бытового и технического назначения, на суровые товарные полотна из всех видов пряжи и нитей и устанавливает методы определения: разрывных характеристик при разрыве полотна; разрывных характеристик при продавливании полотна шариком (кроме искусственного трикотажного меха); растяжимости при нагрузках, меньше разрывных, и необратимой деформации.
Стандарт не распространяется: на трикотажные полотна с эффектом “плиссе“и “гофре“; на трикотажные основовязаные полотна с применением полиуретановых эластомерных нитей в части определения растяжимости при нагрузках, меньше разрывных
Список изменений:№1 от 01.01.1990 (рег. 19.06.1989) «Срок действия продлен»
ГОСТ 8847-85ГОСТ 8847-85ГОСТ 8847-85ГОСТ 8847-85ГОСТ 8847-85ГОСТ 8847-85ГОСТ 8847-85ГОСТ 8847-85ГОСТ 8847-85ГОСТ 8847-85ГОСТ 8847-85ГОСТ 8847-85ГОСТ 8847-85ГОСТ 8847-85ГОСТ 8847-85ГОСТ 8847-85ГОСТ 8847-85ГОСТ 8847-85ГОСТ 8847-85ГОСТ 8847-85ГОСТ 8847-85
 




ГОСТЫ, СТРОИТЕЛЬНЫЕ и ТЕХНИЧЕСКИЕ НОРМАТИВЫ.
Некоммерческая онлайн система, содержащая все Российские Госты, национальные Стандарты и нормативы.
В Системе содержится более 150000 файлов нормативно-технической документации, действующей на территории РФ.
Система предназначена для широкого круга инженерно-технических специалистов.

Рейтинг@Mail.ru Яндекс цитирования

Copyright © www.gostrf.com, 2008 - 2026