Крупнейшая бесплатная информационно-справочная система онлайн доступа к полному собранию технических нормативно-правовых актов РФ. Огромная база технических нормативов (более 150 тысяч документов) и полное собрание национальных стандартов, аутентичное официальной базе Госстандарта. GOSTRF.com - это более 1 Терабайта бесплатной технической информации для всех пользователей интернета. Все электронные копии представленных здесь документов могут распространяться без каких-либо ограничений. Поощряется распространение информации с этого сайта на любых других ресурсах. Каждый человек имеет право на неограниченный доступ к этим документам! Каждый человек имеет право на знание требований, изложенных в данных нормативно-правовых актах!

  


 

ГОСТ 9.504-85

Единая система защиты от коррозии и старения. Материалы упаковочные на бумажной основе. Метод испытания защитной способности

Обозначение:ГОСТ 9.504-85
Текущий статус документа: действующий
Название документа рус.:Единая система защиты от коррозии и старения. Материалы упаковочные на бумажной основе. Метод испытания защитной способности
Название документа англ.:Unified system of corrosion and ageing protection. Materials of packing on paper base. Method of testing protective capability
Дата актуализации текста:01.12.2013
Дата издания:15.11.1985
Дата введения:01.01.1987
Дата последнего изменения:22.05.2013
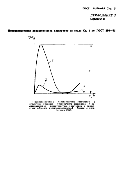
Область применения:Настоящий стандарт распространяется на упаковочные материалы на бумажной основе, используемые для временной защиты изделий от атмосферной коррозии, и устанавливает электрохимический метод испытаний для получения сравнительной оценки защитной способности упаковочных материалов.
Стандарт не распространяется на влагонепроницаемые материалы
Список изменений:№1 от 01.01.1992 (рег. 05.06.1991) «Поправка»
ГОСТ 9.504-85ГОСТ 9.504-85ГОСТ 9.504-85ГОСТ 9.504-85ГОСТ 9.504-85ГОСТ 9.504-85ГОСТ 9.504-85ГОСТ 9.504-85ГОСТ 9.504-85
 




ГОСТЫ, СТРОИТЕЛЬНЫЕ и ТЕХНИЧЕСКИЕ НОРМАТИВЫ.
Некоммерческая онлайн система, содержащая все Российские Госты, национальные Стандарты и нормативы.
В Системе содержится более 150000 файлов нормативно-технической документации, действующей на территории РФ.
Система предназначена для широкого круга инженерно-технических специалистов.

Рейтинг@Mail.ru Яндекс цитирования

Copyright © www.gostrf.com, 2008 - 2026