Крупнейшая бесплатная информационно-справочная система онлайн доступа к полному собранию технических нормативно-правовых актов РФ. Огромная база технических нормативов (более 150 тысяч документов) и полное собрание национальных стандартов, аутентичное официальной базе Госстандарта. GOSTRF.com - это более 1 Терабайта бесплатной технической информации для всех пользователей интернета. Все электронные копии представленных здесь документов могут распространяться без каких-либо ограничений. Поощряется распространение информации с этого сайта на любых других ресурсах. Каждый человек имеет право на неограниченный доступ к этим документам! Каждый человек имеет право на знание требований, изложенных в данных нормативно-правовых актах!

  


 

ГОСТ 18101-85

Станки продольно-фрезерные. Нормы точности и жесткости

Обозначение:ГОСТ 18101-85
Текущий статус документа: действующий
Название документа рус.:Станки продольно-фрезерные. Нормы точности и жесткости
Название документа англ.:Plano-milling machines. Standards of accuracy and rigidity
Дата актуализации текста:01.12.2013
Дата издания:21.10.1985
Дата введения:30.06.1986
Дата последнего изменения:22.05.2013
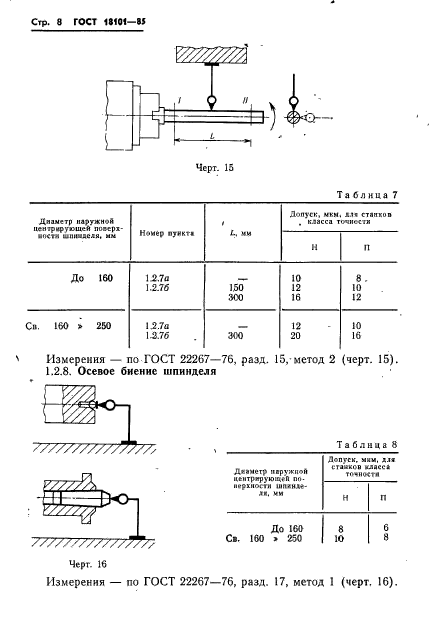
Область применения:Настоящий стандарт распространяется на одно- и двухстоечные продольно-фрезерные и продольные фрезерно-расточные станки общего назначения классов точности Н и П, в том числе на станки с программным управлением, изготовляемые для нужд народного хозяйства и на экспорт
Список изменений:№1 от 01.01.1991 (рег. 14.03.1990) «Срок действия продлен»
ГОСТ 18101-85ГОСТ 18101-85ГОСТ 18101-85ГОСТ 18101-85ГОСТ 18101-85ГОСТ 18101-85ГОСТ 18101-85ГОСТ 18101-85ГОСТ 18101-85ГОСТ 18101-85ГОСТ 18101-85ГОСТ 18101-85ГОСТ 18101-85ГОСТ 18101-85ГОСТ 18101-85ГОСТ 18101-85ГОСТ 18101-85ГОСТ 18101-85ГОСТ 18101-85ГОСТ 18101-85ГОСТ 18101-85ГОСТ 18101-85ГОСТ 18101-85ГОСТ 18101-85ГОСТ 18101-85ГОСТ 18101-85ГОСТ 18101-85ГОСТ 18101-85ГОСТ 18101-85ГОСТ 18101-85ГОСТ 18101-85ГОСТ 18101-85ГОСТ 18101-85ГОСТ 18101-85ГОСТ 18101-85ГОСТ 18101-85ГОСТ 18101-85ГОСТ 18101-85ГОСТ 18101-85ГОСТ 18101-85ГОСТ 18101-85ГОСТ 18101-85ГОСТ 18101-85ГОСТ 18101-85ГОСТ 18101-85ГОСТ 18101-85ГОСТ 18101-85ГОСТ 18101-85ГОСТ 18101-85ГОСТ 18101-85ГОСТ 18101-85
 




ГОСТЫ, СТРОИТЕЛЬНЫЕ и ТЕХНИЧЕСКИЕ НОРМАТИВЫ.
Некоммерческая онлайн система, содержащая все Российские Госты, национальные Стандарты и нормативы.
В Системе содержится более 150000 файлов нормативно-технической документации, действующей на территории РФ.
Система предназначена для широкого круга инженерно-технических специалистов.

Рейтинг@Mail.ru Яндекс цитирования

Copyright © www.gostrf.com, 2008 - 2026