Крупнейшая бесплатная информационно-справочная система онлайн доступа к полному собранию технических нормативно-правовых актов РФ. Огромная база технических нормативов (более 150 тысяч документов) и полное собрание национальных стандартов, аутентичное официальной базе Госстандарта. GOSTRF.com - это более 1 Терабайта бесплатной технической информации для всех пользователей интернета. Все электронные копии представленных здесь документов могут распространяться без каких-либо ограничений. Поощряется распространение информации с этого сайта на любых других ресурсах. Каждый человек имеет право на неограниченный доступ к этим документам! Каждый человек имеет право на знание требований, изложенных в данных нормативно-правовых актах!

  


 

ГОСТ 8.515-84

Государственная система обозначения единства измерений. Эталонные сигналы частоты и времени, излучаемые специализированными радиостанциями Государственной службы времени, частоты и определения параметров вращения Земли. Временной код

Обозначение:ГОСТ 8.515-84
Текущий статус документа: действующий
Название документа рус.:Государственная система обозначения единства измерений. Эталонные сигналы частоты и времени, излучаемые специализированными радиостанциями Государственной службы времени, частоты и определения параметров вращения Земли. Временной код
Название документа англ.:State system of ensuring the uniformity of measurements. Standard frequency and time signals radiated by specialized radio stations of the State service of time, frequency and the Earth rotation parameters determination. Time code
Дата актуализации текста:01.12.2013
Дата издания:31.01.1985
Дата введения:01.01.1986
Дата последнего изменения:22.05.2013
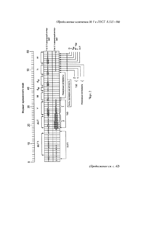
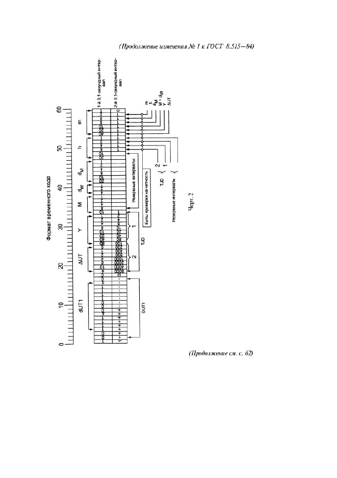
Область применения:Настоящий стандарт распространяется на эталонные сигналы частоты и времени, излучаемые специализированными радиостанциями Государственной службы времени, частоты и определения параметров вращения Земли, работающими в диапазонах длинных и коротких волн, и устанавливает формат временного кода для передачи информации о значении времени суток, календарной и юлианской датах, разности шкал времени UT1 и UTC
Список изменений:№0 от 01.10.2006 (рег. 01.10.2006) «Ограничение срока действия снято»
№1 от 01.07.2006 (рег. 01.03.2006) «Текстовое изменение; Изменено заглавие; Изменены ссылочные НД»
Приложение №1:Изменение к ГОСТ 8.515-84. Поправка к изменению
Приложение №2:Изменение №1 к ГОСТ 8.515-84
ГОСТ 8.515-84ГОСТ 8.515-84ГОСТ 8.515-84ГОСТ 8.515-84ГОСТ 8.515-84ГОСТ 8.515-84ГОСТ 8.515-84ГОСТ 8.515-84ГОСТ 8.515-84ГОСТ 8.515-84ГОСТ 8.515-84ГОСТ 8.515-84ГОСТ 8.515-84ГОСТ 8.515-84ГОСТ 8.515-84ГОСТ 8.515-84ГОСТ 8.515-84ГОСТ 8.515-84ГОСТ 8.515-84ГОСТ 8.515-84ГОСТ 8.515-84

Изменение к ГОСТ 8.515-84. Поправка к изменению

Обозначение:Изменение к ГОСТ 8.515-84. Поправка к изменению
Дата введения:01.10.2006


Изменение к ГОСТ 8.515-84. Поправка к изменению

Изменение №1 к ГОСТ 8.515-84

Обозначение:Изменение №1 к ГОСТ 8.515-84
Дата введения:01.07.2006


Изменение №1 к ГОСТ 8.515-84Изменение №1 к ГОСТ 8.515-84Изменение №1 к ГОСТ 8.515-84Изменение №1 к ГОСТ 8.515-84Изменение №1 к ГОСТ 8.515-84Изменение №1 к ГОСТ 8.515-84Изменение №1 к ГОСТ 8.515-84Изменение №1 к ГОСТ 8.515-84
 




ГОСТЫ, СТРОИТЕЛЬНЫЕ и ТЕХНИЧЕСКИЕ НОРМАТИВЫ.
Некоммерческая онлайн система, содержащая все Российские Госты, национальные Стандарты и нормативы.
В Системе содержится более 150000 файлов нормативно-технической документации, действующей на территории РФ.
Система предназначена для широкого круга инженерно-технических специалистов.

Рейтинг@Mail.ru Яндекс цитирования

Copyright © www.gostrf.com, 2008 - 2026