Крупнейшая бесплатная информационно-справочная система онлайн доступа к полному собранию технических нормативно-правовых актов РФ. Огромная база технических нормативов (более 150 тысяч документов) и полное собрание национальных стандартов, аутентичное официальной базе Госстандарта. GOSTRF.com - это более 1 Терабайта бесплатной технической информации для всех пользователей интернета. Все электронные копии представленных здесь документов могут распространяться без каких-либо ограничений. Поощряется распространение информации с этого сайта на любых других ресурсах. Каждый человек имеет право на неограниченный доступ к этим документам! Каждый человек имеет право на знание требований, изложенных в данных нормативно-правовых актах!

  


 

ГОСТ 26113-84

Процедуры управления звеном передачи данных. Элементы балансных процедур при одновременной двусторонней передаче информации и защиты от ошибок

Обозначение:ГОСТ 26113-84
Текущий статус документа: действующий
Название документа рус.:Процедуры управления звеном передачи данных. Элементы балансных процедур при одновременной двусторонней передаче информации и защиты от ошибок
Название документа англ.:High level data link control procedures. Elements of balanced procedures by the two-way simul-taneous data communication and error recovery
Дата актуализации текста:01.12.2013
Дата издания:19.06.1984
Дата введения:30.06.1985
Дата последнего изменения:22.05.2013
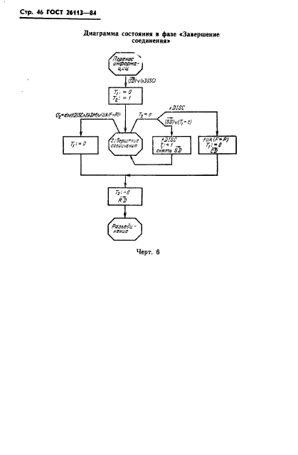
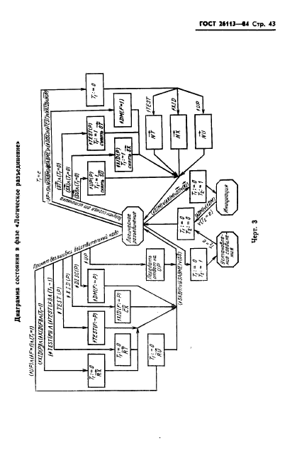
Область применения:Настоящий стандарт распространяется на балансные процедуры управления двухпунктовым звеном передачи данных (ПД) по одному незащищенному от ошибок каналу ПД, организованному на базе Единой автоматизированной сети связи, с кодонезависимостью, ориентированной на биты, и применяемые на абонентских и межцентровых участках сетей ПД общего пользования для переноса сообщений или пакетов данных переменной длины.
Настоящий стандарт распространяется на аппаратуру, техническое задание на которую утверждено до 01.01.90.
Стандарт не распространяется на процедуры при двусторонней поочередной и односторонней передаче информации, а также на процедуры, не использующие для защиты от ошибок циклические коды
Список изменений:№1 от 01.07.1990 (рег. 28.03.1990) «Срок действия продлен»
ГОСТ 26113-84ГОСТ 26113-84ГОСТ 26113-84ГОСТ 26113-84ГОСТ 26113-84ГОСТ 26113-84ГОСТ 26113-84ГОСТ 26113-84ГОСТ 26113-84ГОСТ 26113-84ГОСТ 26113-84ГОСТ 26113-84ГОСТ 26113-84ГОСТ 26113-84ГОСТ 26113-84ГОСТ 26113-84ГОСТ 26113-84ГОСТ 26113-84ГОСТ 26113-84ГОСТ 26113-84ГОСТ 26113-84ГОСТ 26113-84ГОСТ 26113-84ГОСТ 26113-84ГОСТ 26113-84ГОСТ 26113-84ГОСТ 26113-84ГОСТ 26113-84ГОСТ 26113-84ГОСТ 26113-84ГОСТ 26113-84ГОСТ 26113-84ГОСТ 26113-84ГОСТ 26113-84ГОСТ 26113-84ГОСТ 26113-84ГОСТ 26113-84ГОСТ 26113-84ГОСТ 26113-84ГОСТ 26113-84ГОСТ 26113-84ГОСТ 26113-84ГОСТ 26113-84ГОСТ 26113-84ГОСТ 26113-84ГОСТ 26113-84ГОСТ 26113-84ГОСТ 26113-84ГОСТ 26113-84ГОСТ 26113-84ГОСТ 26113-84
 




ГОСТЫ, СТРОИТЕЛЬНЫЕ и ТЕХНИЧЕСКИЕ НОРМАТИВЫ.
Некоммерческая онлайн система, содержащая все Российские Госты, национальные Стандарты и нормативы.
В Системе содержится более 150000 файлов нормативно-технической документации, действующей на территории РФ.
Система предназначена для широкого круга инженерно-технических специалистов.

Рейтинг@Mail.ru Яндекс цитирования

Copyright © www.gostrf.com, 2008 - 2026