Крупнейшая бесплатная информационно-справочная система онлайн доступа к полному собранию технических нормативно-правовых актов РФ. Огромная база технических нормативов (более 150 тысяч документов) и полное собрание национальных стандартов, аутентичное официальной базе Госстандарта. GOSTRF.com - это более 1 Терабайта бесплатной технической информации для всех пользователей интернета. Все электронные копии представленных здесь документов могут распространяться без каких-либо ограничений. Поощряется распространение информации с этого сайта на любых других ресурсах. Каждый человек имеет право на неограниченный доступ к этим документам! Каждый человек имеет право на знание требований, изложенных в данных нормативно-правовых актах!

  


 

ГОСТ 19231.1-83

Плиты железобетонные для покрытий трамвайных путей. Конструкция и размеры

Обозначение:ГОСТ 19231.1-83
Текущий статус документа: действующий
Название документа рус.:Плиты железобетонные для покрытий трамвайных путей. Конструкция и размеры
Название документа англ.:Reinforced concrete slabs for tramway track pavements. Structure and dimensions
Дата актуализации текста:01.12.2013
Дата издания:01.02.1984
Дата введения:01.01.1984
Дата последнего изменения:22.05.2013
Переиздание:переиздание
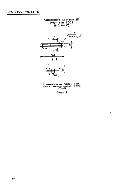
Область применения:Настоящий стандарт распространяется на железобетонные плиты типов 1П, 2П и 3П, изготовляемые из тяжелого бетона и предназначенные для устройства покрытий трамвайных путей, и устанавливает конструкцию плит и арматурных изделий к ним
ГОСТ 19231.1-83ГОСТ 19231.1-83ГОСТ 19231.1-83ГОСТ 19231.1-83ГОСТ 19231.1-83ГОСТ 19231.1-83ГОСТ 19231.1-83ГОСТ 19231.1-83ГОСТ 19231.1-83ГОСТ 19231.1-83ГОСТ 19231.1-83ГОСТ 19231.1-83ГОСТ 19231.1-83ГОСТ 19231.1-83ГОСТ 19231.1-83ГОСТ 19231.1-83
 




ГОСТЫ, СТРОИТЕЛЬНЫЕ и ТЕХНИЧЕСКИЕ НОРМАТИВЫ.
Некоммерческая онлайн система, содержащая все Российские Госты, национальные Стандарты и нормативы.
В Системе содержится более 150000 файлов нормативно-технической документации, действующей на территории РФ.
Система предназначена для широкого круга инженерно-технических специалистов.

Рейтинг@Mail.ru Яндекс цитирования

Copyright © www.gostrf.com, 2008 - 2026