Крупнейшая бесплатная информационно-справочная система онлайн доступа к полному собранию технических нормативно-правовых актов РФ. Огромная база технических нормативов (более 150 тысяч документов) и полное собрание национальных стандартов, аутентичное официальной базе Госстандарта. GOSTRF.com - это более 1 Терабайта бесплатной технической информации для всех пользователей интернета. Все электронные копии представленных здесь документов могут распространяться без каких-либо ограничений. Поощряется распространение информации с этого сайта на любых других ресурсах. Каждый человек имеет право на неограниченный доступ к этим документам! Каждый человек имеет право на знание требований, изложенных в данных нормативно-правовых актах!

  


 

ГОСТ 25671-83

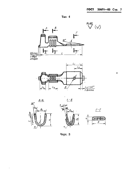
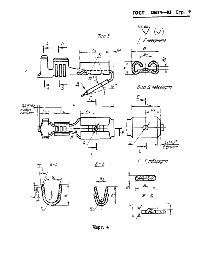
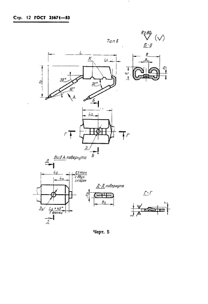
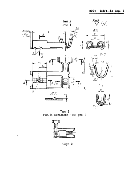
Соединители плоские втычные. Типы, конструкция и размеры

Обозначение:ГОСТ 25671-83
Текущий статус документа: действующий
Название документа рус.:Соединители плоские втычные. Типы, конструкция и размеры
Название документа англ.:Flat pluq-in connectors. Types, construction and sizes
Дата актуализации текста:01.12.2013
Дата издания:31.05.1983
Дата введения:01.01.1985
Дата последнего изменения:22.05.2013
Область применения:Настоящий стандарт распространяется на плоские втычные соединители, предназначенные для разъемного контакта соединения проводов, шнуров и кабелей с медными многопроволочными жилами сечением от 0,35 до 10 мм кв. между собой и присоединеиия указанных проводов к электрическим устройствам
Список изменений:№1 от 01.03.1989 (рег. 04.11.1988) «Поправка»
ГОСТ 25671-83ГОСТ 25671-83ГОСТ 25671-83ГОСТ 25671-83ГОСТ 25671-83ГОСТ 25671-83ГОСТ 25671-83ГОСТ 25671-83ГОСТ 25671-83ГОСТ 25671-83ГОСТ 25671-83ГОСТ 25671-83ГОСТ 25671-83ГОСТ 25671-83ГОСТ 25671-83ГОСТ 25671-83ГОСТ 25671-83ГОСТ 25671-83ГОСТ 25671-83ГОСТ 25671-83ГОСТ 25671-83
 




ГОСТЫ, СТРОИТЕЛЬНЫЕ и ТЕХНИЧЕСКИЕ НОРМАТИВЫ.
Некоммерческая онлайн система, содержащая все Российские Госты, национальные Стандарты и нормативы.
В Системе содержится более 150000 файлов нормативно-технической документации, действующей на территории РФ.
Система предназначена для широкого круга инженерно-технических специалистов.

Рейтинг@Mail.ru Яндекс цитирования

Copyright © www.gostrf.com, 2008 - 2026