Крупнейшая бесплатная информационно-справочная система онлайн доступа к полному собранию технических нормативно-правовых актов РФ. Огромная база технических нормативов (более 150 тысяч документов) и полное собрание национальных стандартов, аутентичное официальной базе Госстандарта. GOSTRF.com - это более 1 Терабайта бесплатной технической информации для всех пользователей интернета. Все электронные копии представленных здесь документов могут распространяться без каких-либо ограничений. Поощряется распространение информации с этого сайта на любых других ресурсах. Каждый человек имеет право на неограниченный доступ к этим документам! Каждый человек имеет право на знание требований, изложенных в данных нормативно-правовых актах!

  


 

ГОСТ 8.156-83

Государственная система обеспечения единства измерений. Счетчики холодной воды. Методы и средства поверки

Обозначение:ГОСТ 8.156-83
Текущий статус документа: действующий
Название документа рус.:Государственная система обеспечения единства измерений. Счетчики холодной воды. Методы и средства поверки
Название документа англ.:State system for ensuring the uniformity of measurements. Cold water meters. Verification methods and means
Дата актуализации текста:01.12.2013
Дата издания:01.10.2001
Дата введения:30.06.1985
Дата последнего изменения:22.05.2013
Переиздание:переиздание
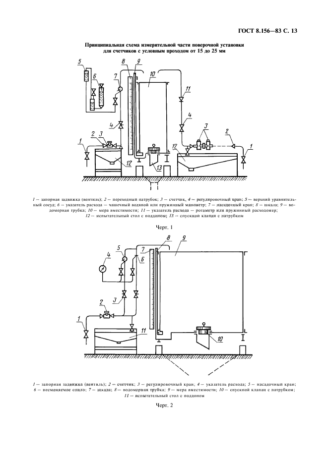
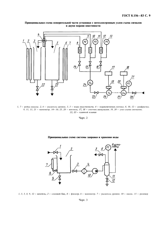
Область применения:Настоящий стандарт распространяется на счетчики холодной воды, а также счетчики, выпускаемые по нормативно-технической документации, и устанавливае методы и средства их первичной и периодической плверок. По методике настоящего стандарта поверяют счетчики типов СХВК, ВКОС, ВКСМ, ВВ, УВК, ВТ и др., и импортные счетчики с аналогичными метрологическими характеристиками, которые соответствуют требованиям вышеуказанных стандартов
ГОСТ 8.156-83ГОСТ 8.156-83ГОСТ 8.156-83ГОСТ 8.156-83ГОСТ 8.156-83ГОСТ 8.156-83ГОСТ 8.156-83ГОСТ 8.156-83ГОСТ 8.156-83ГОСТ 8.156-83ГОСТ 8.156-83ГОСТ 8.156-83ГОСТ 8.156-83ГОСТ 8.156-83ГОСТ 8.156-83ГОСТ 8.156-83ГОСТ 8.156-83ГОСТ 8.156-83ГОСТ 8.156-83ГОСТ 8.156-83ГОСТ 8.156-83ГОСТ 8.156-83ГОСТ 8.156-83
 




ГОСТЫ, СТРОИТЕЛЬНЫЕ и ТЕХНИЧЕСКИЕ НОРМАТИВЫ.
Некоммерческая онлайн система, содержащая все Российские Госты, национальные Стандарты и нормативы.
В Системе содержится более 150000 файлов нормативно-технической документации, действующей на территории РФ.
Система предназначена для широкого круга инженерно-технических специалистов.

Рейтинг@Mail.ru Яндекс цитирования

Copyright © www.gostrf.com, 2008 - 2026