Крупнейшая бесплатная информационно-справочная система онлайн доступа к полному собранию технических нормативно-правовых актов РФ. Огромная база технических нормативов (более 150 тысяч документов) и полное собрание национальных стандартов, аутентичное официальной базе Госстандарта. GOSTRF.com - это более 1 Терабайта бесплатной технической информации для всех пользователей интернета. Все электронные копии представленных здесь документов могут распространяться без каких-либо ограничений. Поощряется распространение информации с этого сайта на любых других ресурсах. Каждый человек имеет право на неограниченный доступ к этим документам! Каждый человек имеет право на знание требований, изложенных в данных нормативно-правовых актах!

  


 

ГОСТ 2424-83

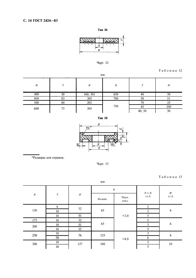
Круги шлифовальные. Технические условия

Обозначение:ГОСТ 2424-83
Текущий статус документа: утратил силу в РФ
Название документа рус.:Круги шлифовальные. Технические условия
Название документа англ.:Grinding wheels
Дата актуализации текста:01.12.2013
Дата издания:01.04.2005
Дата введения:01.01.1985
Дата последнего изменения:22.05.2013
Дата окончания срока действия:01.01.2009
Переиздание:переиздание с изм. 1
Область применения:Настоящий стандарт распространяется на шлифовальные круги общего применения на керамической (К), бакелитовой (Б), вулканитовой (В) связках, изготовляемые для нужд народного хозяйства и экспорта.
Стандарт не распространяется на отрезные круги, обдирочные круги зернистостей 63 и более, круги типов 1 и 5 для ручных машин и хозяйственного назначения
Список изменений:№0 от 01.01.2009 (рег. 29.11.2007) «Поправка к изменению»
№1 от 01.01.1986 (рег. 20.06.1985) «Срок действия продлен»
№2 от 01.01.1990 (рег. 27.01.1989) «Срок действия продлен»
№3 от 01.10.1992 (рег. 18.02.1992) «Срок действия продлен»
№4 от 01.12.1996 (рег. 28.08.1996) «Срок действия продлен»
ГОСТ 2424-83ГОСТ 2424-83ГОСТ 2424-83ГОСТ 2424-83ГОСТ 2424-83ГОСТ 2424-83ГОСТ 2424-83ГОСТ 2424-83ГОСТ 2424-83ГОСТ 2424-83ГОСТ 2424-83ГОСТ 2424-83ГОСТ 2424-83ГОСТ 2424-83ГОСТ 2424-83ГОСТ 2424-83ГОСТ 2424-83ГОСТ 2424-83ГОСТ 2424-83ГОСТ 2424-83ГОСТ 2424-83ГОСТ 2424-83ГОСТ 2424-83ГОСТ 2424-83ГОСТ 2424-83ГОСТ 2424-83ГОСТ 2424-83ГОСТ 2424-83ГОСТ 2424-83ГОСТ 2424-83ГОСТ 2424-83ГОСТ 2424-83ГОСТ 2424-83ГОСТ 2424-83ГОСТ 2424-83ГОСТ 2424-83ГОСТ 2424-83ГОСТ 2424-83ГОСТ 2424-83
 




ГОСТЫ, СТРОИТЕЛЬНЫЕ и ТЕХНИЧЕСКИЕ НОРМАТИВЫ.
Некоммерческая онлайн система, содержащая все Российские Госты, национальные Стандарты и нормативы.
В Системе содержится более 150000 файлов нормативно-технической документации, действующей на территории РФ.
Система предназначена для широкого круга инженерно-технических специалистов.

Рейтинг@Mail.ru Яндекс цитирования

Copyright © www.gostrf.com, 2008 - 2026