Крупнейшая бесплатная информационно-справочная система онлайн доступа к полному собранию технических нормативно-правовых актов РФ. Огромная база технических нормативов (более 150 тысяч документов) и полное собрание национальных стандартов, аутентичное официальной базе Госстандарта. GOSTRF.com - это более 1 Терабайта бесплатной технической информации для всех пользователей интернета. Все электронные копии представленных здесь документов могут распространяться без каких-либо ограничений. Поощряется распространение информации с этого сайта на любых других ресурсах. Каждый человек имеет право на неограниченный доступ к этим документам! Каждый человек имеет право на знание требований, изложенных в данных нормативно-правовых актах!

  


 

ГОСТ 270-75

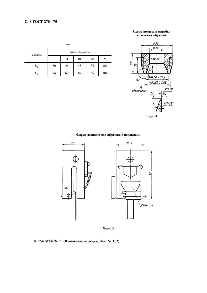
Резина. Метод определения упругопрочностных свойств при растяжении

Обозначение:ГОСТ 270-75
Текущий статус документа: действующий
Название документа рус.:Резина. Метод определения упругопрочностных свойств при растяжении
Название документа англ.:Rubber. Method of the determination elastic and tensile stress-strain properties
Дата актуализации текста:01.12.2013
Дата издания:01.07.2008
Дата введения:01.01.1978
Дата последнего изменения:22.05.2013
Переиздание:переиздание с изм. 1
Область применения:Настоящий стандарт распространяется на резину и устанавливает метод определения упругопрочностных свойств при растяжении по показателям: прочности при растяжении, относительному удлинению при разрыве, напряжению при заданном удлинении
Список изменений:№1 от 01.01.1983 (рег. 03.02.1982) «Срок действия продлен»
№2 от 01.01.1988 (рег. 29.06.1987) «Срок действия продлен»
№3 от 01.04.1993 (рег. 15.10.1992) «Срок действия продлен»
ГОСТ 270-75ГОСТ 270-75ГОСТ 270-75ГОСТ 270-75ГОСТ 270-75ГОСТ 270-75ГОСТ 270-75ГОСТ 270-75ГОСТ 270-75ГОСТ 270-75ГОСТ 270-75
 




ГОСТЫ, СТРОИТЕЛЬНЫЕ и ТЕХНИЧЕСКИЕ НОРМАТИВЫ.
Некоммерческая онлайн система, содержащая все Российские Госты, национальные Стандарты и нормативы.
В Системе содержится более 150000 файлов нормативно-технической документации, действующей на территории РФ.
Система предназначена для широкого круга инженерно-технических специалистов.

Рейтинг@Mail.ru Яндекс цитирования

Copyright © www.gostrf.com, 2008 - 2026