Крупнейшая бесплатная информационно-справочная система онлайн доступа к полному собранию технических нормативно-правовых актов РФ. Огромная база технических нормативов (более 150 тысяч документов) и полное собрание национальных стандартов, аутентичное официальной базе Госстандарта. GOSTRF.com - это более 1 Терабайта бесплатной технической информации для всех пользователей интернета. Все электронные копии представленных здесь документов могут распространяться без каких-либо ограничений. Поощряется распространение информации с этого сайта на любых других ресурсах. Каждый человек имеет право на неограниченный доступ к этим документам! Каждый человек имеет право на знание требований, изложенных в данных нормативно-правовых актах!

  


 

ГОСТ 21779-82

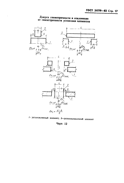
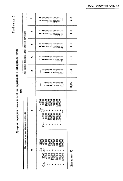
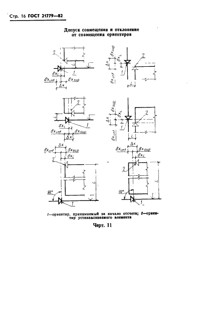
Система обеспечения точности геометрических параметров в строительстве. Технологические допуски

Обозначение:ГОСТ 21779-82
Текущий статус документа: действующий
Название документа рус.:Система обеспечения точности геометрических параметров в строительстве. Технологические допуски
Название документа англ.:System of ensuring of geometrical parameters accuracy in construction. Manufacturing and assembling tolerances
Дата актуализации текста:01.12.2013
Дата издания:21.01.1983
Дата введения:01.01.1983
Дата последнего изменения:22.05.2013
Область применения:Настоящий стандарт распространяется на проектирование и строительство зданий и сооружений, а также проектирование и изготовление элементов для них (конструкций, изделий, деталей) и устанавливает основные принципы регламентации, номенклатуру и значения технологических допусков геометрических параметров.
Стандарт не устанавливает допуски шероховатости поверхностей
ГОСТ 21779-82ГОСТ 21779-82ГОСТ 21779-82ГОСТ 21779-82ГОСТ 21779-82ГОСТ 21779-82ГОСТ 21779-82ГОСТ 21779-82ГОСТ 21779-82ГОСТ 21779-82ГОСТ 21779-82ГОСТ 21779-82ГОСТ 21779-82ГОСТ 21779-82ГОСТ 21779-82ГОСТ 21779-82ГОСТ 21779-82ГОСТ 21779-82ГОСТ 21779-82ГОСТ 21779-82ГОСТ 21779-82ГОСТ 21779-82ГОСТ 21779-82ГОСТ 21779-82
 




ГОСТЫ, СТРОИТЕЛЬНЫЕ и ТЕХНИЧЕСКИЕ НОРМАТИВЫ.
Некоммерческая онлайн система, содержащая все Российские Госты, национальные Стандарты и нормативы.
В Системе содержится более 150000 файлов нормативно-технической документации, действующей на территории РФ.
Система предназначена для широкого круга инженерно-технических специалистов.

Рейтинг@Mail.ru Яндекс цитирования

Copyright © www.gostrf.com, 2008 - 2026