Крупнейшая бесплатная информационно-справочная система онлайн доступа к полному собранию технических нормативно-правовых актов РФ. Огромная база технических нормативов (более 150 тысяч документов) и полное собрание национальных стандартов, аутентичное официальной базе Госстандарта. GOSTRF.com - это более 1 Терабайта бесплатной технической информации для всех пользователей интернета. Все электронные копии представленных здесь документов могут распространяться без каких-либо ограничений. Поощряется распространение информации с этого сайта на любых других ресурсах. Каждый человек имеет право на неограниченный доступ к этим документам! Каждый человек имеет право на знание требований, изложенных в данных нормативно-правовых актах!

  


 

ГОСТ 5105-82

Канистры стальные для горючего и масел. Технические условия

Обозначение:ГОСТ 5105-82
Текущий статус документа: действующий
Название документа рус.:Канистры стальные для горючего и масел. Технические условия
Название документа англ.:Steel tanks for fuel and oils. Specifications
Дата актуализации текста:01.12.2013
Дата издания:01.03.1996
Дата введения:01.01.1984
Дата последнего изменения:22.05.2013
Переиздание:переиздание с изм. 1
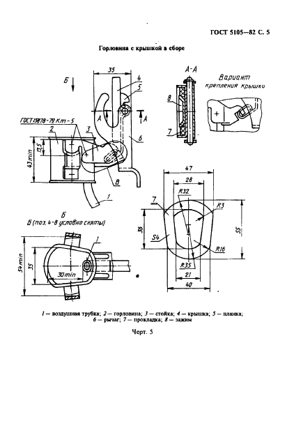
Область применения:Настоящий стандарт распространяется на сварные стальные канистры, предназначенные для транспортирования и хранения горючего и масел
Список изменений:№1 от 01.01.1987 (рег. 26.09.1986) «Срок действия продлен»
№2 от 01.02.1988 (рег. 28.09.1987) «Срок действия продлен»
№3 от 01.11.1988 (рег. 21.06.1988) «Срок действия продлен»
№4 от 01.01.1990 (рег. 20.06.1989) «Срок действия продлен»
№5 от 01.05.1992 (рег. 11.11.1991) «Срок действия продлен»
ГОСТ 5105-82ГОСТ 5105-82ГОСТ 5105-82ГОСТ 5105-82ГОСТ 5105-82ГОСТ 5105-82ГОСТ 5105-82ГОСТ 5105-82ГОСТ 5105-82ГОСТ 5105-82ГОСТ 5105-82ГОСТ 5105-82ГОСТ 5105-82ГОСТ 5105-82ГОСТ 5105-82ГОСТ 5105-82ГОСТ 5105-82ГОСТ 5105-82ГОСТ 5105-82ГОСТ 5105-82ГОСТ 5105-82ГОСТ 5105-82
 




ГОСТЫ, СТРОИТЕЛЬНЫЕ и ТЕХНИЧЕСКИЕ НОРМАТИВЫ.
Некоммерческая онлайн система, содержащая все Российские Госты, национальные Стандарты и нормативы.
В Системе содержится более 150000 файлов нормативно-технической документации, действующей на территории РФ.
Система предназначена для широкого круга инженерно-технических специалистов.

Рейтинг@Mail.ru Яндекс цитирования

Copyright © www.gostrf.com, 2008 - 2026