Крупнейшая бесплатная информационно-справочная система онлайн доступа к полному собранию технических нормативно-правовых актов РФ. Огромная база технических нормативов (более 150 тысяч документов) и полное собрание национальных стандартов, аутентичное официальной базе Госстандарта. GOSTRF.com - это более 1 Терабайта бесплатной технической информации для всех пользователей интернета. Все электронные копии представленных здесь документов могут распространяться без каких-либо ограничений. Поощряется распространение информации с этого сайта на любых других ресурсах. Каждый человек имеет право на неограниченный доступ к этим документам! Каждый человек имеет право на знание требований, изложенных в данных нормативно-правовых актах!

  


 

ГОСТ 24611-81

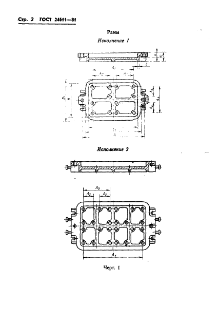
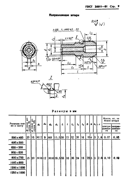
Плиты модельные кассетные. Основные параметры и размеры

Обозначение:ГОСТ 24611-81
Текущий статус документа: действующий
Название документа рус.:Плиты модельные кассетные. Основные параметры и размеры
Название документа англ.:Magazine pattern plates. Basic parameters and dimensions
Дата актуализации текста:01.12.2013
Дата издания:28.04.1981
Дата введения:30.06.1982
Дата последнего изменения:22.05.2013
Область применения:Настоящий стандарт распространяется на модельные кассетные плиты для машинной формовки, применяемые для изготовления песчаных литейных форм на встряхивающих формовочных машинах.
Настоящий стандарт не распространяется на плиты, применяемые при формовке различными методами прессования смеси при давлении свыше 0,5 МПа (5,1 кгс/см кв.), а также на модельные плиты с подогревом, применяемые при литье в оболочковые формы
Список изменений:№1 от 01.05.1987 (рег. 04.12.1986) «Срок действия продлен»
ГОСТ 24611-81ГОСТ 24611-81ГОСТ 24611-81ГОСТ 24611-81ГОСТ 24611-81ГОСТ 24611-81ГОСТ 24611-81ГОСТ 24611-81ГОСТ 24611-81ГОСТ 24611-81ГОСТ 24611-81ГОСТ 24611-81ГОСТ 24611-81ГОСТ 24611-81ГОСТ 24611-81ГОСТ 24611-81
 




ГОСТЫ, СТРОИТЕЛЬНЫЕ и ТЕХНИЧЕСКИЕ НОРМАТИВЫ.
Некоммерческая онлайн система, содержащая все Российские Госты, национальные Стандарты и нормативы.
В Системе содержится более 150000 файлов нормативно-технической документации, действующей на территории РФ.
Система предназначена для широкого круга инженерно-технических специалистов.

Рейтинг@Mail.ru Яндекс цитирования

Copyright © www.gostrf.com, 2008 - 2026