Крупнейшая бесплатная информационно-справочная система онлайн доступа к полному собранию технических нормативно-правовых актов РФ. Огромная база технических нормативов (более 150 тысяч документов) и полное собрание национальных стандартов, аутентичное официальной базе Госстандарта. GOSTRF.com - это более 1 Терабайта бесплатной технической информации для всех пользователей интернета. Все электронные копии представленных здесь документов могут распространяться без каких-либо ограничений. Поощряется распространение информации с этого сайта на любых других ресурсах. Каждый человек имеет право на неограниченный доступ к этим документам! Каждый человек имеет право на знание требований, изложенных в данных нормативно-правовых актах!

  


 

ГОСТ 24679-81

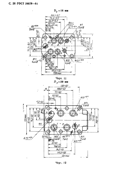
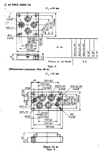
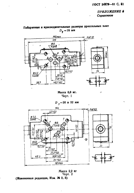
Гидрораспределители золотниковые четырехлинейные на Рном до 32 МПа. Технические условия

Обозначение:ГОСТ 24679-81
Текущий статус документа: действующий
Название документа рус.:Гидрораспределители золотниковые четырехлинейные на Рном до 32 МПа. Технические условия
Название документа англ.:Hydraulic four-way control valves for nominal pressure to 32 MPa. Specifications
Дата актуализации текста:01.12.2013
Дата издания:01.05.1991
Дата введения:01.01.1984
Дата последнего изменения:22.05.2013
Переиздание:переиздание с изм. 1
Область применения:Настоящий стандарт распространяется на золотниковые четырехлинейные гидрораспределители типа В на Рном до 32 МПа (320 кгс/см кв.) со стыковым присоединением, предназначенные для гидроприводов станков, прессов и других стационарных машин, работающих при температуре окружающей среды от +1 до +55 град. С на минеральных маслах с кинематической вязкостью от 10 до 400 мм кв./с (сСт) и температурой от 0 до +70 град. С, изготовляемые для нужд народного хозяйства и для экспорта.
Допускается работа гидрораспределителей на рабочей жидкости промгидрол при температуре от 1 до 60 град. С
Список изменений:№0 от 20.06.1988 (рег. 20.06.1988) «Срок действия продлен»
№1 от 01.01.1984 (рег. 18.05.1982) «Срок действия продлен»
№2 от 01.01.1986 (рег. 24.07.1985) «Срок действия продлен»
№3 от 01.01.1989 (рег. 17.08.1988) «Срок действия продлен»
ГОСТ 24679-81ГОСТ 24679-81ГОСТ 24679-81ГОСТ 24679-81ГОСТ 24679-81ГОСТ 24679-81ГОСТ 24679-81ГОСТ 24679-81ГОСТ 24679-81ГОСТ 24679-81ГОСТ 24679-81ГОСТ 24679-81ГОСТ 24679-81ГОСТ 24679-81ГОСТ 24679-81ГОСТ 24679-81ГОСТ 24679-81ГОСТ 24679-81ГОСТ 24679-81ГОСТ 24679-81ГОСТ 24679-81ГОСТ 24679-81ГОСТ 24679-81ГОСТ 24679-81ГОСТ 24679-81ГОСТ 24679-81ГОСТ 24679-81ГОСТ 24679-81ГОСТ 24679-81ГОСТ 24679-81ГОСТ 24679-81ГОСТ 24679-81ГОСТ 24679-81ГОСТ 24679-81ГОСТ 24679-81ГОСТ 24679-81ГОСТ 24679-81ГОСТ 24679-81ГОСТ 24679-81ГОСТ 24679-81ГОСТ 24679-81ГОСТ 24679-81ГОСТ 24679-81ГОСТ 24679-81ГОСТ 24679-81ГОСТ 24679-81ГОСТ 24679-81ГОСТ 24679-81ГОСТ 24679-81ГОСТ 24679-81ГОСТ 24679-81ГОСТ 24679-81ГОСТ 24679-81ГОСТ 24679-81ГОСТ 24679-81ГОСТ 24679-81ГОСТ 24679-81
 




ГОСТЫ, СТРОИТЕЛЬНЫЕ и ТЕХНИЧЕСКИЕ НОРМАТИВЫ.
Некоммерческая онлайн система, содержащая все Российские Госты, национальные Стандарты и нормативы.
В Системе содержится более 150000 файлов нормативно-технической документации, действующей на территории РФ.
Система предназначена для широкого круга инженерно-технических специалистов.

Рейтинг@Mail.ru Яндекс цитирования

Copyright © www.gostrf.com, 2008 - 2026