Крупнейшая бесплатная информационно-справочная система онлайн доступа к полному собранию технических нормативно-правовых актов РФ. Огромная база технических нормативов (более 150 тысяч документов) и полное собрание национальных стандартов, аутентичное официальной базе Госстандарта. GOSTRF.com - это более 1 Терабайта бесплатной технической информации для всех пользователей интернета. Все электронные копии представленных здесь документов могут распространяться без каких-либо ограничений. Поощряется распространение информации с этого сайта на любых других ресурсах. Каждый человек имеет право на неограниченный доступ к этим документам! Каждый человек имеет право на знание требований, изложенных в данных нормативно-правовых актах!

  


 

ГОСТ 24956-81

Титан и сплавы титановые. Метод определения водорода

Обозначение:ГОСТ 24956-81
Текущий статус документа: действующий
Название документа рус.:Титан и сплавы титановые. Метод определения водорода
Название документа англ.:Titanium and titanium alloys. Method for the determination of hydrogen
Дата актуализации текста:01.12.2013
Дата издания:01.02.1997
Дата введения:01.01.1983
Дата последнего изменения:22.05.2013
Переиздание:переиздание с изм. 1
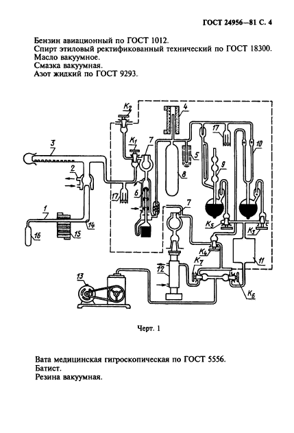
Область применения:Настоящий стандарт устанавливает метод вакуум-нагрева для определения водорода в титане и титановых сплавах (при массовой доле водорода от 0,0006 до 0,05%)
Список изменений:№1 от 01.01.1988 (рег. 09.06.1987) «Поправка»
№2 от 01.03.1993 (рег. 07.09.1992) «Срок действия продлен»
№3 от 01.01.1998 (рег. 23.09.1997) «Срок действия продлен»
ГОСТ 24956-81ГОСТ 24956-81ГОСТ 24956-81ГОСТ 24956-81ГОСТ 24956-81ГОСТ 24956-81ГОСТ 24956-81ГОСТ 24956-81ГОСТ 24956-81ГОСТ 24956-81ГОСТ 24956-81ГОСТ 24956-81ГОСТ 24956-81ГОСТ 24956-81
 




ГОСТЫ, СТРОИТЕЛЬНЫЕ и ТЕХНИЧЕСКИЕ НОРМАТИВЫ.
Некоммерческая онлайн система, содержащая все Российские Госты, национальные Стандарты и нормативы.
В Системе содержится более 150000 файлов нормативно-технической документации, действующей на территории РФ.
Система предназначена для широкого круга инженерно-технических специалистов.

Рейтинг@Mail.ru Яндекс цитирования

Copyright © www.gostrf.com, 2008 - 2026