Крупнейшая бесплатная информационно-справочная система онлайн доступа к полному собранию технических нормативно-правовых актов РФ. Огромная база технических нормативов (более 150 тысяч документов) и полное собрание национальных стандартов, аутентичное официальной базе Госстандарта. GOSTRF.com - это более 1 Терабайта бесплатной технической информации для всех пользователей интернета. Все электронные копии представленных здесь документов могут распространяться без каких-либо ограничений. Поощряется распространение информации с этого сайта на любых других ресурсах. Каждый человек имеет право на неограниченный доступ к этим документам! Каждый человек имеет право на знание требований, изложенных в данных нормативно-правовых актах!

  


 

ГОСТ 8483-81

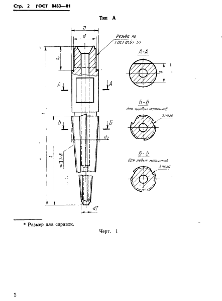
Метчики ловильные геологоразведочные. Технические условия

Обозначение:ГОСТ 8483-81
Текущий статус документа: действующий
Название документа рус.:Метчики ловильные геологоразведочные. Технические условия
Название документа англ.:Fishing tap. Technical conditions
Дата актуализации текста:01.12.2013
Дата издания:19.05.1981
Дата введения:01.01.1982
Дата последнего изменения:22.05.2013
Область применения:Настоящий стандарт распространяется на ловильные промывные метчики, предназначенные для извлечения оставшихся в скважинах при геологоразведочном бурении стальных труб ниппельного соединения диаметрами 32; 33,5; 38; 42; 50; 54; 68 мм; муфтовозамкового соединения диаметрами 42; 50 и 63,5 мм; бурильных труб КССК-76; ССК-46; ССК-59; ССК-76; утяжеленных бурильных труб диаметрами 73 и 89 мм; двойной колонны для бурения с гидротранспортом керна; обсадных, колонковых, двойных колонковых труб диаметрами 34; 44; 57; 73; 89; 108; 127 и 146 мм и переходников, используемых с перечисленными трубами
Список изменений:№1 от 01.04.1987 (рег. 17.12.1986) «Срок действия продлен»
№2 от 01.01.1992 (рег. 25.06.1991) «Срок действия продлен»
ГОСТ 8483-81ГОСТ 8483-81ГОСТ 8483-81ГОСТ 8483-81ГОСТ 8483-81ГОСТ 8483-81ГОСТ 8483-81ГОСТ 8483-81ГОСТ 8483-81ГОСТ 8483-81ГОСТ 8483-81ГОСТ 8483-81ГОСТ 8483-81ГОСТ 8483-81ГОСТ 8483-81ГОСТ 8483-81ГОСТ 8483-81ГОСТ 8483-81ГОСТ 8483-81ГОСТ 8483-81ГОСТ 8483-81
 




ГОСТЫ, СТРОИТЕЛЬНЫЕ и ТЕХНИЧЕСКИЕ НОРМАТИВЫ.
Некоммерческая онлайн система, содержащая все Российские Госты, национальные Стандарты и нормативы.
В Системе содержится более 150000 файлов нормативно-технической документации, действующей на территории РФ.
Система предназначена для широкого круга инженерно-технических специалистов.

Рейтинг@Mail.ru Яндекс цитирования

Copyright © www.gostrf.com, 2008 - 2026