Крупнейшая бесплатная информационно-справочная система онлайн доступа к полному собранию технических нормативно-правовых актов РФ. Огромная база технических нормативов (более 150 тысяч документов) и полное собрание национальных стандартов, аутентичное официальной базе Госстандарта. GOSTRF.com - это более 1 Терабайта бесплатной технической информации для всех пользователей интернета. Все электронные копии представленных здесь документов могут распространяться без каких-либо ограничений. Поощряется распространение информации с этого сайта на любых других ресурсах. Каждый человек имеет право на неограниченный доступ к этим документам! Каждый человек имеет право на знание требований, изложенных в данных нормативно-правовых актах!

  


 

ГОСТ 9400-81

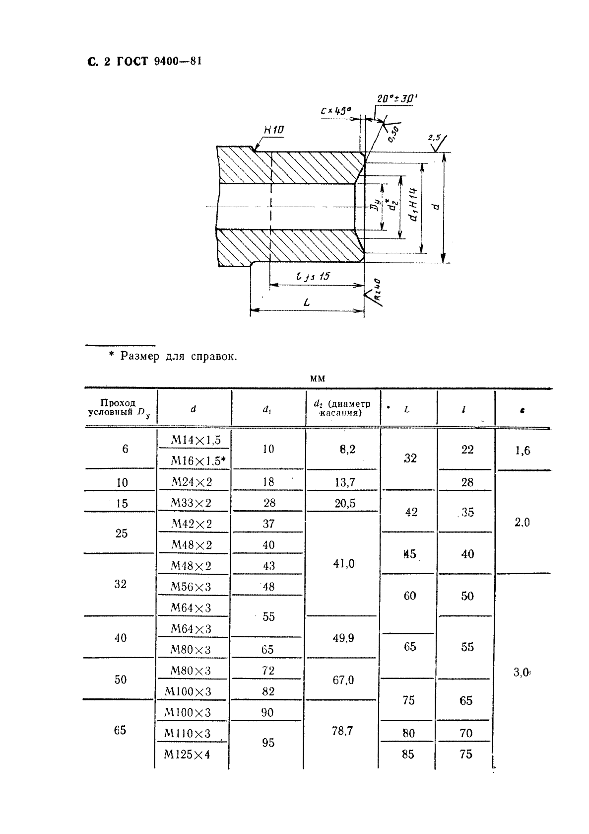
Концы присоединительные резьбовые для арматуры, соединительных частей и трубопроводов под линзовое уплотнение на Ру 20-100 МПа (200-1000 кгс/см.кв.). Размеры

Обозначение:ГОСТ 9400-81
Текущий статус документа: действующий
Название документа рус.:Концы присоединительные резьбовые для арматуры, соединительных частей и трубопроводов под линзовое уплотнение на Ру 20-100 МПа (200-1000 кгс/см.кв.). Размеры
Название документа англ.:Threaded connecting ends for valves, fittings and pipes with tens - shaped seals for pn20-100 mpa (200-1000 kgf/cm2) dimensions
Дата актуализации текста:01.12.2013
Дата издания:01.03.1993
Дата введения:01.01.1982
Дата последнего изменения:22.05.2013
Переиздание:переиздание с изм. 1
Область применения:Настоящий стандарт распространяется на присоединительные концы под линзовое уплотнение для соединения с фланцами на резьбе арматуры, соединительных частей и трубопроводов, применяемых в химической и нефтехимической и промышленностях, на Ру 20-100 МПа (200-1000 кгс/см.кв.) и Dу 6-200 мм с температурой от минус 50 до плюс 510 град. С
Список изменений:№1 от 01.03.1989 (рег. 08.09.1988) «Срок действия продлен»
№2 от 01.01.1992 (рег. 26.02.1991) «Срок действия продлен»
ГОСТ 9400-81ГОСТ 9400-81ГОСТ 9400-81ГОСТ 9400-81ГОСТ 9400-81ГОСТ 9400-81ГОСТ 9400-81
 




ГОСТЫ, СТРОИТЕЛЬНЫЕ и ТЕХНИЧЕСКИЕ НОРМАТИВЫ.
Некоммерческая онлайн система, содержащая все Российские Госты, национальные Стандарты и нормативы.
В Системе содержится более 150000 файлов нормативно-технической документации, действующей на территории РФ.
Система предназначена для широкого круга инженерно-технических специалистов.

Рейтинг@Mail.ru Яндекс цитирования

Copyright © www.gostrf.com, 2008 - 2026