Крупнейшая бесплатная информационно-справочная система онлайн доступа к полному собранию технических нормативно-правовых актов РФ. Огромная база технических нормативов (более 150 тысяч документов) и полное собрание национальных стандартов, аутентичное официальной базе Госстандарта. GOSTRF.com - это более 1 Терабайта бесплатной технической информации для всех пользователей интернета. Все электронные копии представленных здесь документов могут распространяться без каких-либо ограничений. Поощряется распространение информации с этого сайта на любых других ресурсах. Каждый человек имеет право на неограниченный доступ к этим документам! Каждый человек имеет право на знание требований, изложенных в данных нормативно-правовых актах!

  


 

ГОСТ 24932-81

Калибры для конических соединений. Допуски

Обозначение:ГОСТ 24932-81
Текущий статус документа: действующий
Название документа рус.:Калибры для конических соединений. Допуски
Название документа англ.:Gauges for tapered joints. Tolerances
Дата актуализации текста:01.12.2013
Дата издания:01.05.2003
Дата введения:01.01.1982
Дата последнего изменения:22.05.2013
Переиздание:переиздание с изм. 1
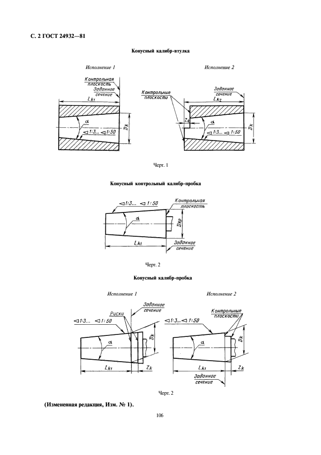
Область применения:Настоящий стандарт распространяется на калибры для гладких конусов с раздельным нормированием каждого вида допусков, с диаметрами в заданном сечении до 200 мм, конусностью от 1:3 до 1:50, с допусками диаметров от 6 до 12 квалитета, допусками углов конусов от 4 до 9 степени точности и устанавливает: виды и исполнения, формулы для определения размеров, допуски и комплектность калибров
Список изменений:№1 от 01.01.1991 (рег. 22.02.1990) «Срок действия продлен»
ГОСТ 24932-81ГОСТ 24932-81ГОСТ 24932-81ГОСТ 24932-81ГОСТ 24932-81ГОСТ 24932-81ГОСТ 24932-81ГОСТ 24932-81ГОСТ 24932-81ГОСТ 24932-81ГОСТ 24932-81
 




ГОСТЫ, СТРОИТЕЛЬНЫЕ и ТЕХНИЧЕСКИЕ НОРМАТИВЫ.
Некоммерческая онлайн система, содержащая все Российские Госты, национальные Стандарты и нормативы.
В Системе содержится более 150000 файлов нормативно-технической документации, действующей на территории РФ.
Система предназначена для широкого круга инженерно-технических специалистов.

Рейтинг@Mail.ru Яндекс цитирования

Copyright © www.gostrf.com, 2008 - 2026