Крупнейшая бесплатная информационно-справочная система онлайн доступа к полному собранию технических нормативно-правовых актов РФ. Огромная база технических нормативов (более 150 тысяч документов) и полное собрание национальных стандартов, аутентичное официальной базе Госстандарта. GOSTRF.com - это более 1 Терабайта бесплатной технической информации для всех пользователей интернета. Все электронные копии представленных здесь документов могут распространяться без каких-либо ограничений. Поощряется распространение информации с этого сайта на любых других ресурсах. Каждый человек имеет право на неограниченный доступ к этим документам! Каждый человек имеет право на знание требований, изложенных в данных нормативно-правовых актах!

  


 

ГОСТ 7565-81

Чугун, сталь и сплавы. Метод отбора проб для химического состава

Обозначение:ГОСТ 7565-81
Текущий статус документа: действующий
Название документа рус.:Чугун, сталь и сплавы. Метод отбора проб для химического состава
Название документа англ.:Iron, steel and alloys. Sampling for determination of chemical composition
Дата актуализации текста:01.12.2013
Дата издания:01.09.2009
Дата введения:01.01.1982
Дата последнего изменения:22.05.2013
Переиздание:переиздание с изм. 1
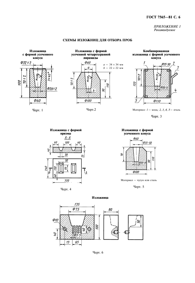
Область применения:Настоящий стандарт устанавливает метод отбора и подготовки проб для определения химического состава доменного чугуна, стали, сплавов и готового проката
Список изменений:№1 от 01.01.1987 (рег. 11.06.1986) «Срок действия продлен»
№2 от 01.01.1992 (рег. 17.06.1991) «Срок действия продлен»
ГОСТ 7565-81ГОСТ 7565-81ГОСТ 7565-81ГОСТ 7565-81ГОСТ 7565-81ГОСТ 7565-81ГОСТ 7565-81ГОСТ 7565-81ГОСТ 7565-81ГОСТ 7565-81ГОСТ 7565-81ГОСТ 7565-81ГОСТ 7565-81ГОСТ 7565-81
 




ГОСТЫ, СТРОИТЕЛЬНЫЕ и ТЕХНИЧЕСКИЕ НОРМАТИВЫ.
Некоммерческая онлайн система, содержащая все Российские Госты, национальные Стандарты и нормативы.
В Системе содержится более 150000 файлов нормативно-технической документации, действующей на территории РФ.
Система предназначена для широкого круга инженерно-технических специалистов.

Рейтинг@Mail.ru Яндекс цитирования

Copyright © www.gostrf.com, 2008 - 2026