Крупнейшая бесплатная информационно-справочная система онлайн доступа к полному собранию технических нормативно-правовых актов РФ. Огромная база технических нормативов (более 150 тысяч документов) и полное собрание национальных стандартов, аутентичное официальной базе Госстандарта. GOSTRF.com - это более 1 Терабайта бесплатной технической информации для всех пользователей интернета. Все электронные копии представленных здесь документов могут распространяться без каких-либо ограничений. Поощряется распространение информации с этого сайта на любых других ресурсах. Каждый человек имеет право на неограниченный доступ к этим документам! Каждый человек имеет право на знание требований, изложенных в данных нормативно-правовых актах!

  


 

ГОСТ 24913-81

Костюм специальный утепленный для военнослужащих. Технические условия

Обозначение:ГОСТ 24913-81
Текущий статус документа: действующий
Название документа рус.:Костюм специальный утепленный для военнослужащих. Технические условия
Название документа англ.:Special army uniform with underlining. Specifications
Дата актуализации текста:01.12.2013
Дата издания:01.03.1990
Дата введения:01.01.1983
Дата последнего изменения:22.05.2013
Переиздание:переиздание с изм. 1
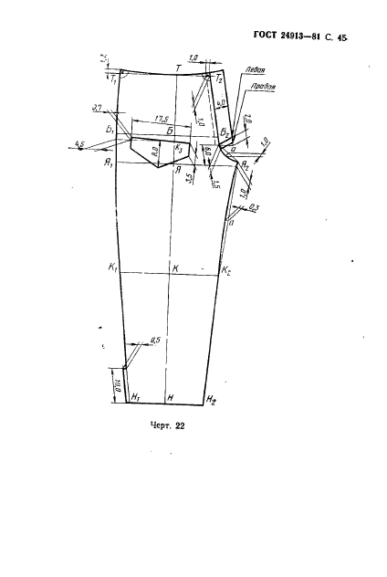
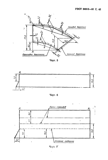
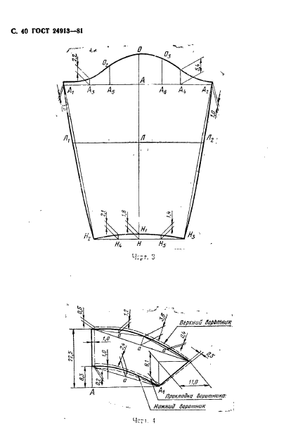
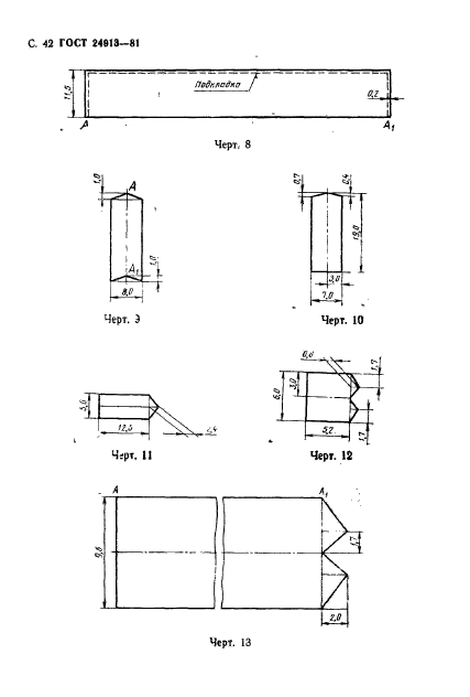
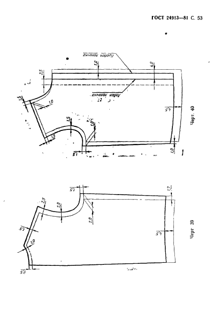
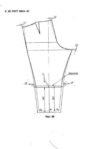
Область применения:Настоящий стандарт распространяется на зимний костюм со съемным утеплителем - куртка, брюки и капюшон, предназначенный в качестве спецодежды для военнослужащих Советской Армии и Министерства внутренних дел СССР
Список изменений:№0 от 20.08.1987 (рег. 20.08.1987) «Срок действия продлен»
№1 от 01.04.1985 (рег. 29.10.1984) «Срок действия продлен»
№2 от 01.07.1987 (рег. 03.02.1987) «Срок действия продлен»
№3 от 01.06.1988 (рег. 15.12.1987) «Срок действия продлен»
№4 от 01.07.1990 (рег. 15.09.1989) «Срок действия продлен»
ГОСТ 24913-81ГОСТ 24913-81ГОСТ 24913-81ГОСТ 24913-81ГОСТ 24913-81ГОСТ 24913-81ГОСТ 24913-81ГОСТ 24913-81ГОСТ 24913-81ГОСТ 24913-81ГОСТ 24913-81ГОСТ 24913-81ГОСТ 24913-81ГОСТ 24913-81ГОСТ 24913-81ГОСТ 24913-81ГОСТ 24913-81ГОСТ 24913-81ГОСТ 24913-81ГОСТ 24913-81ГОСТ 24913-81ГОСТ 24913-81ГОСТ 24913-81ГОСТ 24913-81ГОСТ 24913-81ГОСТ 24913-81ГОСТ 24913-81ГОСТ 24913-81ГОСТ 24913-81ГОСТ 24913-81ГОСТ 24913-81ГОСТ 24913-81ГОСТ 24913-81ГОСТ 24913-81ГОСТ 24913-81ГОСТ 24913-81ГОСТ 24913-81ГОСТ 24913-81ГОСТ 24913-81ГОСТ 24913-81ГОСТ 24913-81ГОСТ 24913-81ГОСТ 24913-81ГОСТ 24913-81ГОСТ 24913-81ГОСТ 24913-81ГОСТ 24913-81ГОСТ 24913-81ГОСТ 24913-81ГОСТ 24913-81ГОСТ 24913-81ГОСТ 24913-81ГОСТ 24913-81ГОСТ 24913-81ГОСТ 24913-81ГОСТ 24913-81ГОСТ 24913-81ГОСТ 24913-81ГОСТ 24913-81ГОСТ 24913-81ГОСТ 24913-81ГОСТ 24913-81ГОСТ 24913-81ГОСТ 24913-81ГОСТ 24913-81
 




ГОСТЫ, СТРОИТЕЛЬНЫЕ и ТЕХНИЧЕСКИЕ НОРМАТИВЫ.
Некоммерческая онлайн система, содержащая все Российские Госты, национальные Стандарты и нормативы.
В Системе содержится более 150000 файлов нормативно-технической документации, действующей на территории РФ.
Система предназначена для широкого круга инженерно-технических специалистов.

Рейтинг@Mail.ru Яндекс цитирования

Copyright © www.gostrf.com, 2008 - 2026