Крупнейшая бесплатная информационно-справочная система онлайн доступа к полному собранию технических нормативно-правовых актов РФ. Огромная база технических нормативов (более 150 тысяч документов) и полное собрание национальных стандартов, аутентичное официальной базе Госстандарта. GOSTRF.com - это более 1 Терабайта бесплатной технической информации для всех пользователей интернета. Все электронные копии представленных здесь документов могут распространяться без каких-либо ограничений. Поощряется распространение информации с этого сайта на любых других ресурсах. Каждый человек имеет право на неограниченный доступ к этим документам! Каждый человек имеет право на знание требований, изложенных в данных нормативно-правовых актах!

  


 

ГОСТ 24434-80

Панели слоистые с утеплителем из пенопластов для стен и покрытий зданий. Пенопласты. Метод определения усадки

Обозначение:ГОСТ 24434-80
Текущий статус документа: действующий
Название документа рус.:Панели слоистые с утеплителем из пенопластов для стен и покрытий зданий. Пенопласты. Метод определения усадки
Название документа англ.:Laminated wall and roof panels with plastic foam thermal insulation. Plastic foams. Method of determining shrinkage
Дата актуализации текста:01.12.2013
Дата издания:17.03.1981
Дата введения:01.01.1982
Дата последнего изменения:22.05.2013
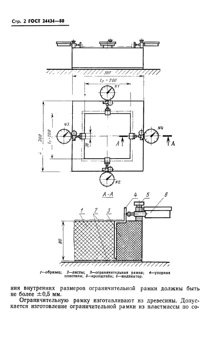
Область применения:Настоящий стандарт распространяется на слоистые панели с конструкционным утеплителем из заливочных пенопластов (с листами из металла, асбоцемента, древесноволокнистых и древесностружечных плит, фанеры, стеклопластиков и др.) для стен и покрытий зданий и устанавливает метод определения технологической усадки утеплителя, появляющейся после формования пенопласта в полости панелей
ГОСТ 24434-80ГОСТ 24434-80ГОСТ 24434-80ГОСТ 24434-80ГОСТ 24434-80ГОСТ 24434-80ГОСТ 24434-80
 




ГОСТЫ, СТРОИТЕЛЬНЫЕ и ТЕХНИЧЕСКИЕ НОРМАТИВЫ.
Некоммерческая онлайн система, содержащая все Российские Госты, национальные Стандарты и нормативы.
В Системе содержится более 150000 файлов нормативно-технической документации, действующей на территории РФ.
Система предназначена для широкого круга инженерно-технических специалистов.

Рейтинг@Mail.ru Яндекс цитирования

Copyright © www.gostrf.com, 2008 - 2026