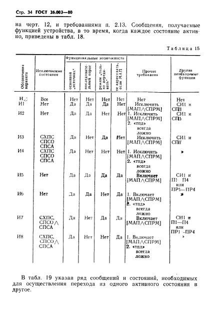
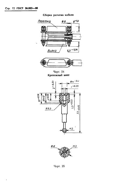
Крупнейшая бесплатная информационно-справочная система онлайн доступа к полному собранию технических нормативно-правовых актов РФ. Огромная база технических нормативов (более 150 тысяч документов) и полное собрание национальных стандартов, аутентичное официальной базе Госстандарта. GOSTRF.com - это более 1 Терабайта бесплатной технической информации для всех пользователей интернета. Все электронные копии представленных здесь документов могут распространяться без каких-либо ограничений. Поощряется распространение информации с этого сайта на любых других ресурсах. Каждый человек имеет право на неограниченный доступ к этим документам! Каждый человек имеет право на знание требований, изложенных в данных нормативно-правовых актах!

  


 

ГОСТ 26.003-80

Система интерфейса для измерительных устройств с байт-последовательным,бит-параллельным обменом информацией. Требования к совместимости

Обозначение:ГОСТ 26.003-80
Текущий статус документа: действующий
Название документа рус.:Система интерфейса для измерительных устройств с байт-последовательным,бит-параллельным обменом информацией. Требования к совместимости
Название документа англ.:Interface system for measuring devices with byte-serial, bit-parallel exchange of information
Дата актуализации текста:01.12.2013
Дата издания:01.04.1985
Дата введения:30.06.1981
Дата последнего изменения:25.11.2013
Переиздание:переиздание с изм. 1
Область применения:Настоящий стандарт распространяется на систему интерфейса, предназначенную для соединения программируемых и непрограммируемых электронных измерительных устройств, применяемых в лабораториях или цеховых условиях, в которых используется бит-параллельный, байт последовательный асинхронный способ обмена информацией
Список изменений:№1 от 01.08.1983 (рег. 24.03.1983) «Срок действия продлен»
№2 от 01.03.1985 (рег. 28.11.1984) «Срок действия продлен»
№3 от 01.07.1987 (рег. 30.06.1987) «Поправка»
ГОСТ 26.003-80ГОСТ 26.003-80ГОСТ 26.003-80ГОСТ 26.003-80ГОСТ 26.003-80ГОСТ 26.003-80ГОСТ 26.003-80ГОСТ 26.003-80ГОСТ 26.003-80ГОСТ 26.003-80ГОСТ 26.003-80ГОСТ 26.003-80ГОСТ 26.003-80ГОСТ 26.003-80ГОСТ 26.003-80ГОСТ 26.003-80ГОСТ 26.003-80ГОСТ 26.003-80ГОСТ 26.003-80ГОСТ 26.003-80ГОСТ 26.003-80ГОСТ 26.003-80ГОСТ 26.003-80ГОСТ 26.003-80ГОСТ 26.003-80ГОСТ 26.003-80ГОСТ 26.003-80ГОСТ 26.003-80ГОСТ 26.003-80ГОСТ 26.003-80ГОСТ 26.003-80ГОСТ 26.003-80ГОСТ 26.003-80ГОСТ 26.003-80ГОСТ 26.003-80ГОСТ 26.003-80ГОСТ 26.003-80ГОСТ 26.003-80ГОСТ 26.003-80ГОСТ 26.003-80ГОСТ 26.003-80ГОСТ 26.003-80ГОСТ 26.003-80ГОСТ 26.003-80ГОСТ 26.003-80ГОСТ 26.003-80ГОСТ 26.003-80ГОСТ 26.003-80ГОСТ 26.003-80ГОСТ 26.003-80ГОСТ 26.003-80ГОСТ 26.003-80ГОСТ 26.003-80ГОСТ 26.003-80ГОСТ 26.003-80ГОСТ 26.003-80ГОСТ 26.003-80ГОСТ 26.003-80ГОСТ 26.003-80ГОСТ 26.003-80ГОСТ 26.003-80ГОСТ 26.003-80ГОСТ 26.003-80ГОСТ 26.003-80ГОСТ 26.003-80ГОСТ 26.003-80ГОСТ 26.003-80ГОСТ 26.003-80ГОСТ 26.003-80ГОСТ 26.003-80ГОСТ 26.003-80ГОСТ 26.003-80ГОСТ 26.003-80ГОСТ 26.003-80ГОСТ 26.003-80ГОСТ 26.003-80ГОСТ 26.003-80ГОСТ 26.003-80ГОСТ 26.003-80ГОСТ 26.003-80ГОСТ 26.003-80ГОСТ 26.003-80ГОСТ 26.003-80ГОСТ 26.003-80ГОСТ 26.003-80ГОСТ 26.003-80ГОСТ 26.003-80ГОСТ 26.003-80ГОСТ 26.003-80ГОСТ 26.003-80ГОСТ 26.003-80ГОСТ 26.003-80ГОСТ 26.003-80ГОСТ 26.003-80ГОСТ 26.003-80ГОСТ 26.003-80ГОСТ 26.003-80ГОСТ 26.003-80ГОСТ 26.003-80ГОСТ 26.003-80ГОСТ 26.003-80ГОСТ 26.003-80ГОСТ 26.003-80ГОСТ 26.003-80ГОСТ 26.003-80ГОСТ 26.003-80ГОСТ 26.003-80ГОСТ 26.003-80ГОСТ 26.003-80ГОСТ 26.003-80ГОСТ 26.003-80ГОСТ 26.003-80ГОСТ 26.003-80ГОСТ 26.003-80
 




ГОСТЫ, СТРОИТЕЛЬНЫЕ и ТЕХНИЧЕСКИЕ НОРМАТИВЫ.
Некоммерческая онлайн система, содержащая все Российские Госты, национальные Стандарты и нормативы.
В Системе содержится более 150000 файлов нормативно-технической документации, действующей на территории РФ.
Система предназначена для широкого круга инженерно-технических специалистов.

Рейтинг@Mail.ru Яндекс цитирования

Copyright © www.gostrf.com, 2008 - 2026