Крупнейшая бесплатная информационно-справочная система онлайн доступа к полному собранию технических нормативно-правовых актов РФ. Огромная база технических нормативов (более 150 тысяч документов) и полное собрание национальных стандартов, аутентичное официальной базе Госстандарта. GOSTRF.com - это более 1 Терабайта бесплатной технической информации для всех пользователей интернета. Все электронные копии представленных здесь документов могут распространяться без каких-либо ограничений. Поощряется распространение информации с этого сайта на любых других ресурсах. Каждый человек имеет право на неограниченный доступ к этим документам! Каждый человек имеет право на знание требований, изложенных в данных нормативно-правовых актах!

  


 

ГОСТ 18604.3-80

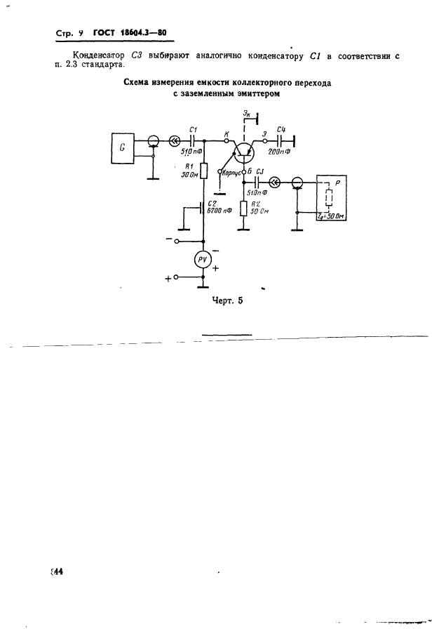
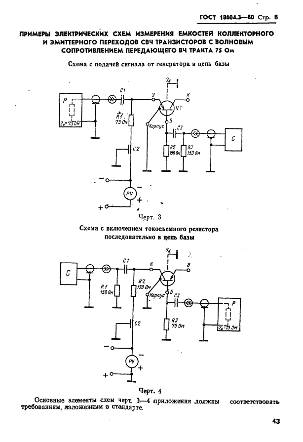
Транзисторы. Методы измерения емкостей коллекторного и эмиттерного переходов

Обозначение:ГОСТ 18604.3-80
Текущий статус документа: действующий
Название документа рус.:Транзисторы. Методы измерения емкостей коллекторного и эмиттерного переходов
Название документа англ.:Transistors bipolar. Methods for measuring collector and emitter capacitances
Дата актуализации текста:01.12.2013
Дата издания:01.12.1985
Дата введения:01.01.1982
Дата последнего изменения:22.05.2013
Переиздание:переиздание с изм. 1
Область применения:Настоящий стандарт распространяется на биполярные транзисторы и устанавливает два метода измерения емкостей коллекторного и эмиттерного переходов:
с использованием резистивно-емкостного делителя;
с использованием моста.
Метод с использованием резистивно-емкостного делителя применяют в производственных измерениях, требующих высокой производительности.
Метод с использованием моста применяют в лабораторных и производственных измерениях, требующих высокой точности
Список изменений:№1 от 01.07.1985 (рег. 29.04.1984) «Срок действия продлен»
№2 от 01.10.1987 (рег. 25.06.1987) «Поправка»
ГОСТ 18604.3-80ГОСТ 18604.3-80ГОСТ 18604.3-80ГОСТ 18604.3-80ГОСТ 18604.3-80ГОСТ 18604.3-80ГОСТ 18604.3-80ГОСТ 18604.3-80ГОСТ 18604.3-80ГОСТ 18604.3-80ГОСТ 18604.3-80ГОСТ 18604.3-80ГОСТ 18604.3-80
 




ГОСТЫ, СТРОИТЕЛЬНЫЕ и ТЕХНИЧЕСКИЕ НОРМАТИВЫ.
Некоммерческая онлайн система, содержащая все Российские Госты, национальные Стандарты и нормативы.
В Системе содержится более 150000 файлов нормативно-технической документации, действующей на территории РФ.
Система предназначена для широкого круга инженерно-технических специалистов.

Рейтинг@Mail.ru Яндекс цитирования

Copyright © www.gostrf.com, 2008 - 2026