| |
ГОСТ 12815-80Фланцы арматуры, соединительных частей и трубопроводов на Ру от 0,1 до 20,0 МПа (от 1 до 200 кгс/см кв.). Типы. Присоединительные размеры и размеры уплотнительных поверхностей
| Обозначение: | ГОСТ 12815-80 |
| Текущий статус документа: | действующий |
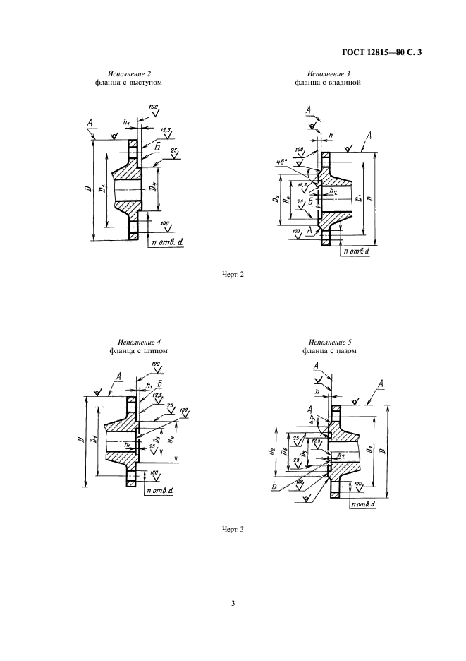
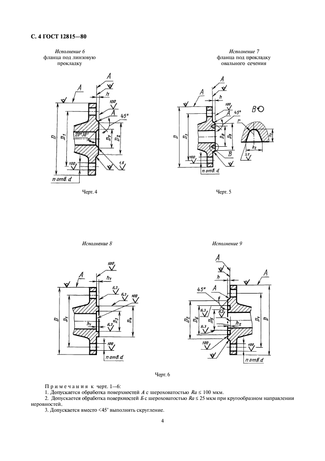
| Название документа рус.: | Фланцы арматуры, соединительных частей и трубопроводов на Ру от 0,1 до 20,0 МПа (от 1 до 200 кгс/см кв.). Типы. Присоединительные размеры и размеры уплотнительных поверхностей | | Название документа англ.: | Flanges for valves, fittings and pipelines for Pnom from 0,1 to 20 MPa (from 1 to 200kgf/sq sm). Types. Connecting dimensions and dimensions of sealing surfaces | | Дата актуализации текста: | 01.12.2013 | | Дата издания: | 01.07.2003 | | Дата введения: | 01.01.1983 | | Дата последнего изменения: | 22.05.2013 | | Переиздание: | переиздание с изм. 1 | | Взамен: | | | Область применения: | Настоящий стандарт распространяется на фланцы трубопроводов и соединительных частей, а также на присоединительные фланцы арматуры, машин, приборов, патрубков аппаратов и резервуаров на условное давление Py от 0,1 до 20,0 МПа (от 1 до 200 кгс/см кв.) и температуру среды от 20 до 873 К (от минус 253 до 600 град. С) и на фланцы с прокладками из фторопласта-4 на условное давление Py от 0,1 до 20,0 МПа (от 1 до 200 кгс/см кв.) и температуру среды от 73 до 473 К (от минус 200 до плюс 200 град. С) и может быть использован для их сертификации.
Стандарт не распространяется на фланцы трубопроводов транспортных машин, если эти фланцы не предназначены для присоединения арматуры или приборов общего назначения, а также фланцы, стандартизованные ГОСТ 1536-76 и ГОСТ 4433-76 | | Список изменений: | №0 от 01.11.2005 (рег. 01.11.2005) «Дата введения перенесена» №0 от 21.01.2010 (рег. 21.01.2010) «Дата введения перенесена» №0 от 14.04.2011 (рег. 14.04.2011) «Дата введения перенесена» №1 от 01.07.1983 (рег. 11.03.1983) «Срок действия продлен» №2 от 01.07.1984 (рег. 15.12.1983) «Срок действия продлен» №3 от 01.07.1988 (рег. 25.12.1987) «Срок действия продлен» №4 от 01.04.1990 (рег. 08.09.1989) «Срок действия продлен» №5 от 01.10.1992 (рег. 15.04.1992) «Срок действия продлен» | | Приложение №1: | Поправка к ГОСТ 12815-80 | | Приложение №2: | Поправка к ГОСТ 12815-80 | | Приложение №3: | Поправка к ГОСТ 12815-80 | |
                    
Поправка к ГОСТ 12815-80
| Обозначение: | Поправка к ГОСТ 12815-80 |
| Дата введения: | 21.01.2010 |

Поправка к ГОСТ 12815-80
| Обозначение: | Поправка к ГОСТ 12815-80 |
| Дата введения: | 01.11.2005 |

Поправка к ГОСТ 12815-80
| Обозначение: | Поправка к ГОСТ 12815-80 |
| Дата введения: | 14.04.2011 |
|
|
|