Крупнейшая бесплатная информационно-справочная система онлайн доступа к полному собранию технических нормативно-правовых актов РФ. Огромная база технических нормативов (более 150 тысяч документов) и полное собрание национальных стандартов, аутентичное официальной базе Госстандарта. GOSTRF.com - это более 1 Терабайта бесплатной технической информации для всех пользователей интернета. Все электронные копии представленных здесь документов могут распространяться без каких-либо ограничений. Поощряется распространение информации с этого сайта на любых других ресурсах. Каждый человек имеет право на неограниченный доступ к этим документам! Каждый человек имеет право на знание требований, изложенных в данных нормативно-правовых актах!

  


 

ГОСТ 17.2.4.01-80

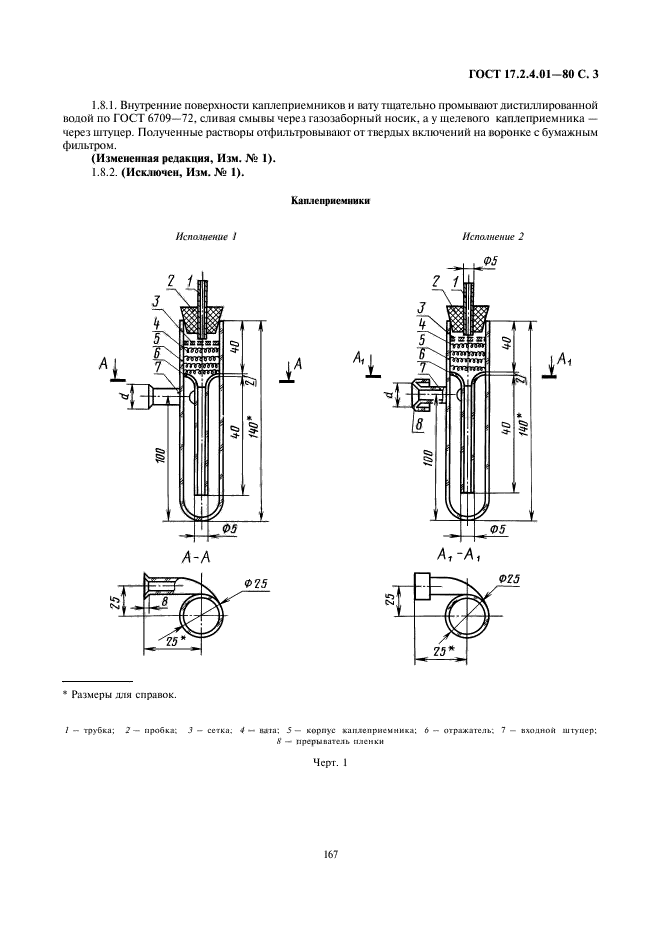
Охрана природы. Атмосфера. Метод определения величины каплеуноса после мокрых пылегазоочистных аппаратов

Обозначение:ГОСТ 17.2.4.01-80
Текущий статус документа: действующий
Название документа рус.:Охрана природы. Атмосфера. Метод определения величины каплеуноса после мокрых пылегазоочистных аппаратов
Название документа англ.:Nature protection. Atmosphere. Method for determining the amount of drops carried after apparatus for wet scrubbing of dust and gases have been operated
Дата актуализации текста:01.12.2013
Дата издания:01.07.2004
Дата введения:30.06.1981
Дата последнего изменения:22.05.2013
Переиздание:переиздание с изм. 1
Область применения:Настоящий стандарт устанавливает метод определения величины каплеуноса после мокрых аппаратов пылегазоочистки, орошаемых водными растворами солей, кислот и щелочей при конечном каплеуносе не более 5 г/м куб. (при нормальных условиях - температуре 0 град. С и давлении 101325 Па) и содержании в массе остаточной пыли водорастворимой соли с выбранным ионом-индикатором менее 2%. Скорость в газоходе на выбранном участке не должна превышать 25 м/с
Список изменений:№1 от 01.07.1986 (рег. 21.01.1986) «Срок действия продлен»
ГОСТ 17.2.4.01-80ГОСТ 17.2.4.01-80ГОСТ 17.2.4.01-80ГОСТ 17.2.4.01-80ГОСТ 17.2.4.01-80ГОСТ 17.2.4.01-80ГОСТ 17.2.4.01-80
 




ГОСТЫ, СТРОИТЕЛЬНЫЕ и ТЕХНИЧЕСКИЕ НОРМАТИВЫ.
Некоммерческая онлайн система, содержащая все Российские Госты, национальные Стандарты и нормативы.
В Системе содержится более 150000 файлов нормативно-технической документации, действующей на территории РФ.
Система предназначена для широкого круга инженерно-технических специалистов.

Рейтинг@Mail.ru Яндекс цитирования

Copyright © www.gostrf.com, 2008 - 2026