Крупнейшая бесплатная информационно-справочная система онлайн доступа к полному собранию технических нормативно-правовых актов РФ. Огромная база технических нормативов (более 150 тысяч документов) и полное собрание национальных стандартов, аутентичное официальной базе Госстандарта. GOSTRF.com - это более 1 Терабайта бесплатной технической информации для всех пользователей интернета. Все электронные копии представленных здесь документов могут распространяться без каких-либо ограничений. Поощряется распространение информации с этого сайта на любых других ресурсах. Каждый человек имеет право на неограниченный доступ к этим документам! Каждый человек имеет право на знание требований, изложенных в данных нормативно-правовых актах!

  


 

ГОСТ 20958-80

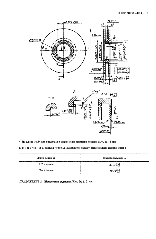
Лента магнитная без записи шириной 12,7 мм с катушкой. Общие технические условия

Обозначение:ГОСТ 20958-80
Текущий статус документа: действующий
Название документа рус.:Лента магнитная без записи шириной 12,7 мм с катушкой. Общие технические условия
Название документа англ.:Unrecorded 12,7 mm magnetic tapes with bobbin for computers. General specifications
Дата актуализации текста:01.12.2013
Дата издания:01.07.2000
Дата введения:01.01.1982
Дата последнего изменения:22.05.2013
Переиздание:переиздание с изм. 1
Область применения:Настоящий стандарт распространяется на магнитные ленты без записи шириной 12,7 мм с катушкой, предназначенные для записи информации с плотностью 32 и 356 переходов потока на 1 мм (п.п./мм) способом без возвращения к нулю или 126 п.п./мм способом фазокодирования с продольной намагниченностью в накопителях на магнитных лентах для электронных вычислительных машин
Список изменений:№1 от 01.11.1984 (рег. 13.08.1984) «Срок действия продлен»
№2 от 01.01.1987 (рег. 25.04.1986) «Поправка»
№3 от 01.09.1988 (рег. 19.04.1988) «Срок действия продлен»
№4 от 01.09.1991 (рег. 25.03.1991) «Срок действия продлен»
ГОСТ 20958-80ГОСТ 20958-80ГОСТ 20958-80ГОСТ 20958-80ГОСТ 20958-80ГОСТ 20958-80ГОСТ 20958-80ГОСТ 20958-80ГОСТ 20958-80ГОСТ 20958-80ГОСТ 20958-80ГОСТ 20958-80ГОСТ 20958-80ГОСТ 20958-80ГОСТ 20958-80ГОСТ 20958-80ГОСТ 20958-80ГОСТ 20958-80ГОСТ 20958-80
 




ГОСТЫ, СТРОИТЕЛЬНЫЕ и ТЕХНИЧЕСКИЕ НОРМАТИВЫ.
Некоммерческая онлайн система, содержащая все Российские Госты, национальные Стандарты и нормативы.
В Системе содержится более 150000 файлов нормативно-технической документации, действующей на территории РФ.
Система предназначена для широкого круга инженерно-технических специалистов.

Рейтинг@Mail.ru Яндекс цитирования

Copyright © www.gostrf.com, 2008 - 2026