Крупнейшая бесплатная информационно-справочная система онлайн доступа к полному собранию технических нормативно-правовых актов РФ. Огромная база технических нормативов (более 150 тысяч документов) и полное собрание национальных стандартов, аутентичное официальной базе Госстандарта. GOSTRF.com - это более 1 Терабайта бесплатной технической информации для всех пользователей интернета. Все электронные копии представленных здесь документов могут распространяться без каких-либо ограничений. Поощряется распространение информации с этого сайта на любых других ресурсах. Каждый человек имеет право на неограниченный доступ к этим документам! Каждый человек имеет право на знание требований, изложенных в данных нормативно-правовых актах!

  


 

ГОСТ 14956-79

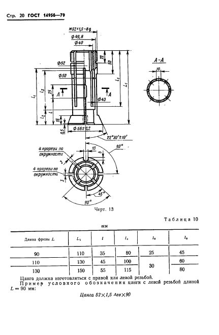
Фрезы дереворежущие насадные цилиндрические сборные. Типы, основные параметры и размеры

Обозначение:ГОСТ 14956-79
Текущий статус документа: действующий
Название документа рус.:Фрезы дереворежущие насадные цилиндрические сборные. Типы, основные параметры и размеры
Название документа англ.:Shell type inserted beade circular cutterbloks for woodcutting. Types. Main parameters and dimensions
Дата актуализации текста:01.12.2013
Дата издания:16.10.1979
Дата введения:01.01.1981
Дата последнего изменения:22.05.2013
Область применения:Настоящий стандарт распространяется на насадные цилиндрические сборные фрезы, предназначенные для обработки древесины и древесных материалов на фрезерных и четырехсторонних строгальных станках.
Фрезы должны изготовляться типов:
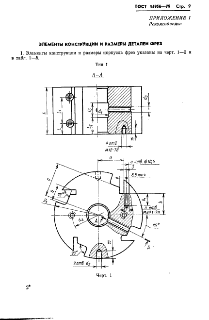
1 - с непосредственной посадкой на шпиндель;
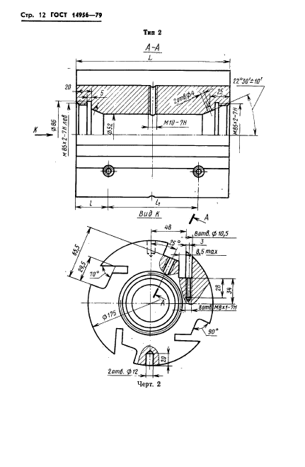
2 - с креплением на двух цангах гайками;
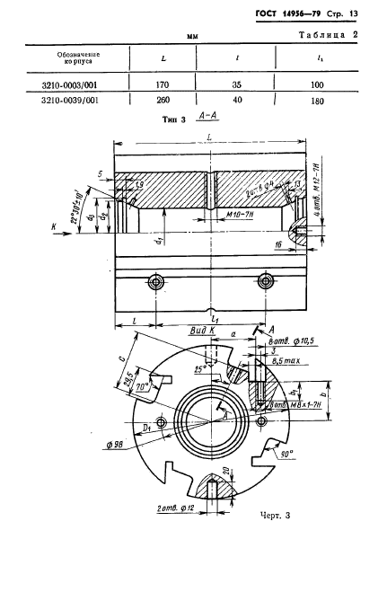
3 - с креплением на двух цангах через промежуточные упорные кольца;
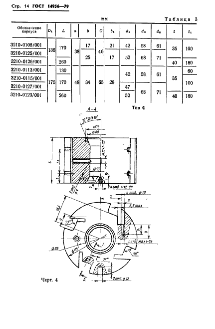
4 - с креплением на цанге;
5 - с креплением на патроне
ГОСТ 14956-79ГОСТ 14956-79ГОСТ 14956-79ГОСТ 14956-79ГОСТ 14956-79ГОСТ 14956-79ГОСТ 14956-79ГОСТ 14956-79ГОСТ 14956-79ГОСТ 14956-79ГОСТ 14956-79ГОСТ 14956-79ГОСТ 14956-79ГОСТ 14956-79ГОСТ 14956-79ГОСТ 14956-79ГОСТ 14956-79ГОСТ 14956-79ГОСТ 14956-79ГОСТ 14956-79ГОСТ 14956-79ГОСТ 14956-79ГОСТ 14956-79ГОСТ 14956-79ГОСТ 14956-79ГОСТ 14956-79ГОСТ 14956-79ГОСТ 14956-79ГОСТ 14956-79ГОСТ 14956-79
 




ГОСТЫ, СТРОИТЕЛЬНЫЕ и ТЕХНИЧЕСКИЕ НОРМАТИВЫ.
Некоммерческая онлайн система, содержащая все Российские Госты, национальные Стандарты и нормативы.
В Системе содержится более 150000 файлов нормативно-технической документации, действующей на территории РФ.
Система предназначена для широкого круга инженерно-технических специалистов.

Рейтинг@Mail.ru Яндекс цитирования

Copyright © www.gostrf.com, 2008 - 2026