Крупнейшая бесплатная информационно-справочная система онлайн доступа к полному собранию технических нормативно-правовых актов РФ. Огромная база технических нормативов (более 150 тысяч документов) и полное собрание национальных стандартов, аутентичное официальной базе Госстандарта. GOSTRF.com - это более 1 Терабайта бесплатной технической информации для всех пользователей интернета. Все электронные копии представленных здесь документов могут распространяться без каких-либо ограничений. Поощряется распространение информации с этого сайта на любых других ресурсах. Каждый человек имеет право на неограниченный доступ к этим документам! Каждый человек имеет право на знание требований, изложенных в данных нормативно-правовых актах!

  


 

ГОСТ 21106.6-77

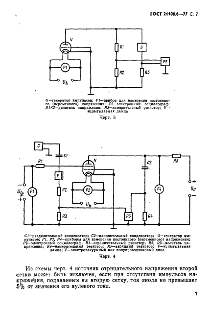
Лампы генераторные, модуляторные и регулирующие мощностью, рассеиваемой анодом, свыше 25 Вт. Методы измерения токов анода и сеток, имеющих положительный потенциал относительно катода, и нулевых токов анода и сеток

Обозначение:ГОСТ 21106.6-77
Текущий статус документа: действующий
Название документа рус.:Лампы генераторные, модуляторные и регулирующие мощностью, рассеиваемой анодом, свыше 25 Вт. Методы измерения токов анода и сеток, имеющих положительный потенциал относительно катода, и нулевых токов анода и сеток
Название документа англ.:Oscillator, modulator and regulation tubes with anode dissipated power above 25 W. Measurement methods of currents of anode and grids, having positive voltage relative to cathode and zero anode and grids currents
Дата актуализации текста:01.12.2013
Дата издания:01.08.1987
Дата введения:30.06.1979
Дата последнего изменения:22.05.2013
Переиздание:переиздание с изм. 1
Взамен в части: в части разд. V и VIII
Область применения:Настоящий стандарт распространяется на генераторные, модуляторные и регулирующие лампы мощностью, рассеиваемой анодом, свыше 25 Вт
Список изменений:№0 от 28.06.1990 (рег. 28.06.1990) «Восстановлен на территории СНГ»
№0 от 01.07.1989 (рег. 05.05.1988) «Текстовое изменение; Изменено заглавие»
№1 от 01.07.1984 (рег. 30.01.1984) «Срок действия продлен»
№2 от 01.10.1986 (рег. 25.04.1986) «Срок действия продлен»
ГОСТ 21106.6-77ГОСТ 21106.6-77ГОСТ 21106.6-77ГОСТ 21106.6-77ГОСТ 21106.6-77ГОСТ 21106.6-77ГОСТ 21106.6-77ГОСТ 21106.6-77ГОСТ 21106.6-77ГОСТ 21106.6-77ГОСТ 21106.6-77ГОСТ 21106.6-77ГОСТ 21106.6-77
 




ГОСТЫ, СТРОИТЕЛЬНЫЕ и ТЕХНИЧЕСКИЕ НОРМАТИВЫ.
Некоммерческая онлайн система, содержащая все Российские Госты, национальные Стандарты и нормативы.
В Системе содержится более 150000 файлов нормативно-технической документации, действующей на территории РФ.
Система предназначена для широкого круга инженерно-технических специалистов.

Рейтинг@Mail.ru Яндекс цитирования

Copyright © www.gostrf.com, 2008 - 2026