Крупнейшая бесплатная информационно-справочная система онлайн доступа к полному собранию технических нормативно-правовых актов РФ. Огромная база технических нормативов (более 150 тысяч документов) и полное собрание национальных стандартов, аутентичное официальной базе Госстандарта. GOSTRF.com - это более 1 Терабайта бесплатной технической информации для всех пользователей интернета. Все электронные копии представленных здесь документов могут распространяться без каких-либо ограничений. Поощряется распространение информации с этого сайта на любых других ресурсах. Каждый человек имеет право на неограниченный доступ к этим документам! Каждый человек имеет право на знание требований, изложенных в данных нормативно-правовых актах!

  


 

ГОСТ 12135-75

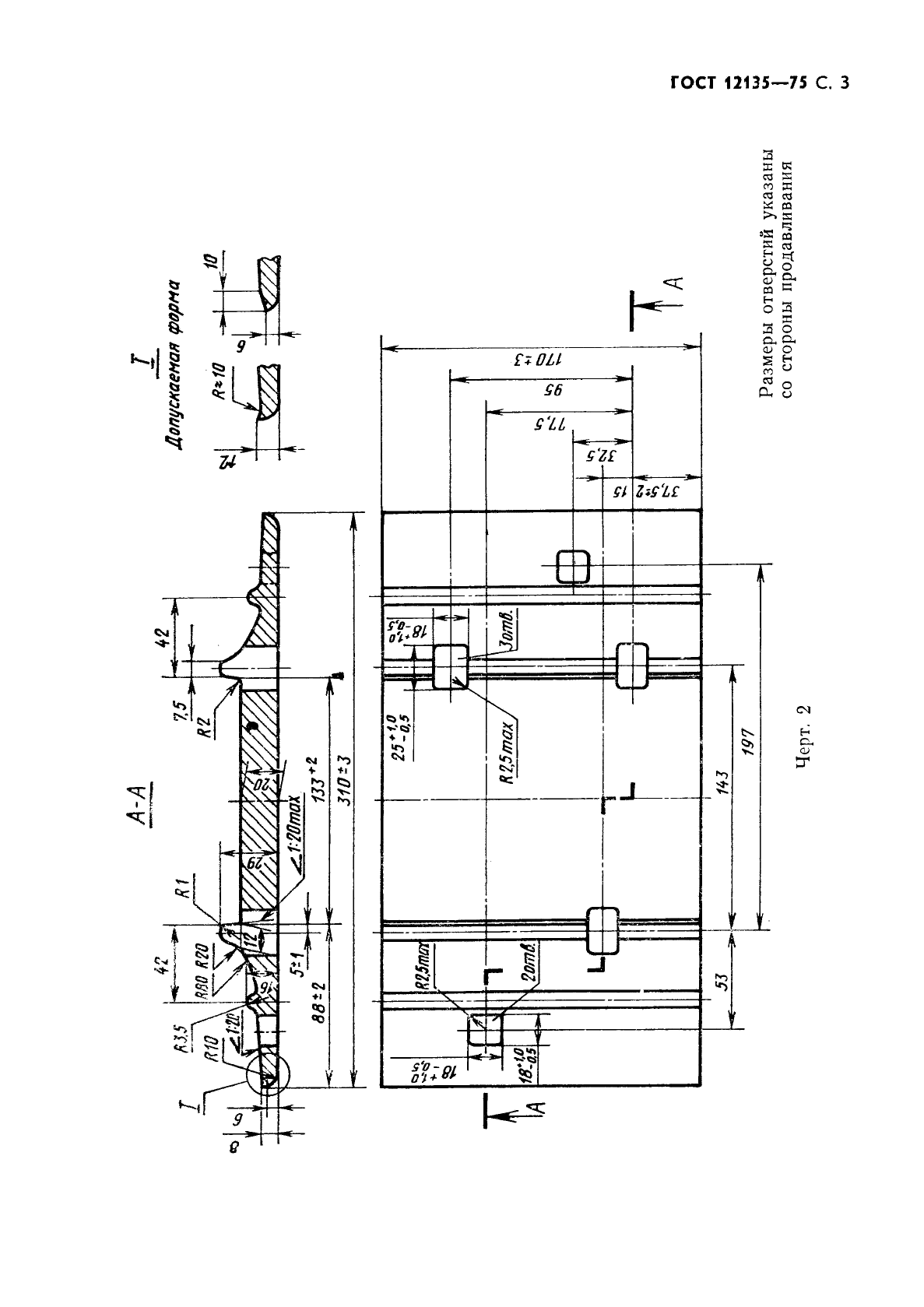
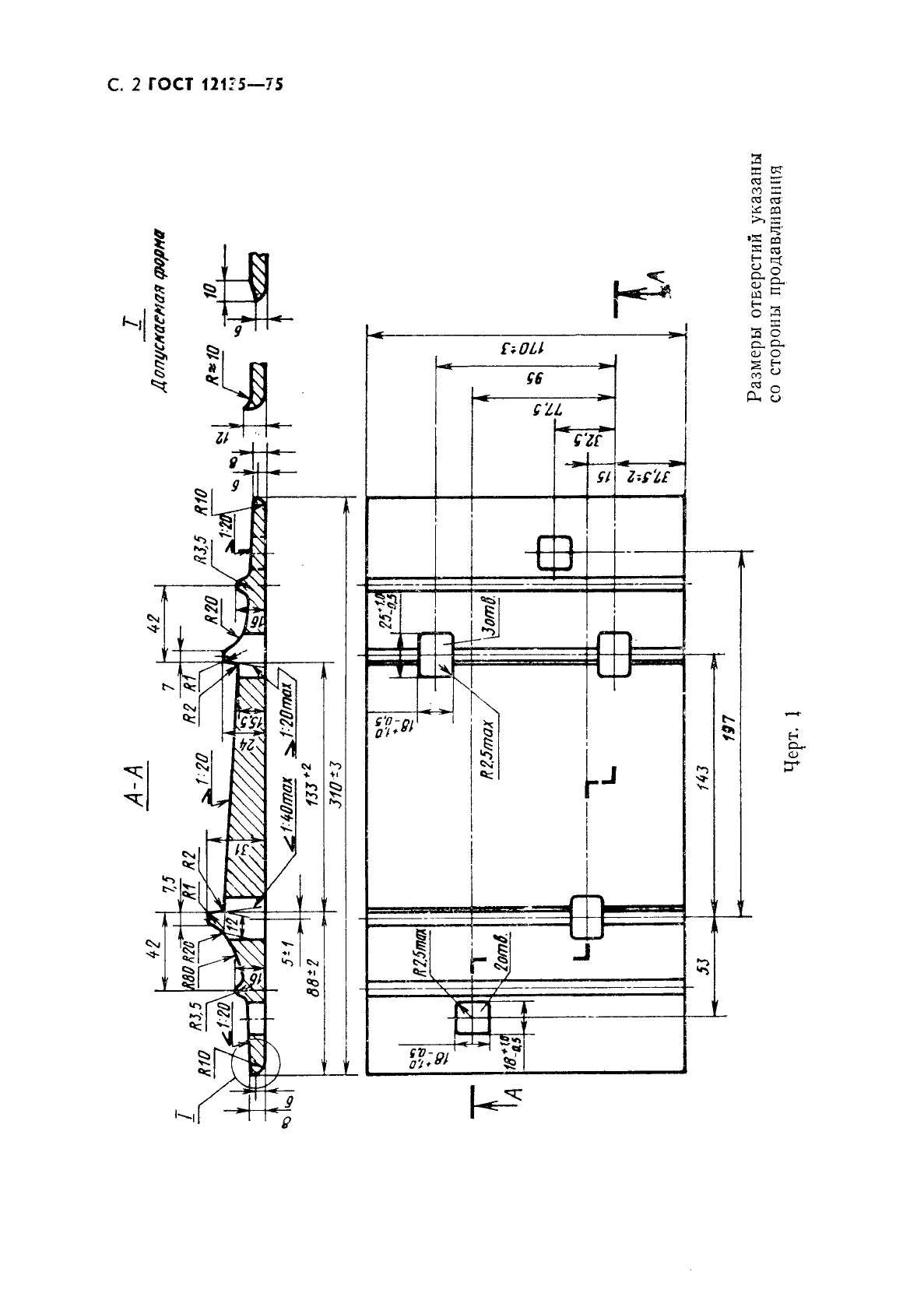
Подкладки костыльного скрепления к железнодорожным рельсам типа Р50. Конструкция и размеры

Обозначение:ГОСТ 12135-75
Текущий статус документа: действующий
Название документа рус.:Подкладки костыльного скрепления к железнодорожным рельсам типа Р50. Конструкция и размеры
Название документа англ.:The plates of spike fastening for railway P50 rails. Design and dimensions
Дата актуализации текста:01.12.2013
Дата издания:01.09.1987
Дата введения:01.01.1976
Дата последнего изменения:22.05.2013
Переиздание:переиздание с изм. 1
Область применения:Настоящий стандарт распространяется на подкладки Д50 и СД50 костыльного скрепления к железнодорожным рельсам типа Р50. Подкладки СД50 применяются в конструкциях железнодорожного пути, где не требуется наклон рельсовых нитей
Список изменений:№0 от 08.06.1987 (рег. 08.06.1987) «Срок действия продлен»
№1 от 01.11.1976 (рег. 28.09.1976) «Срок действия продлен»
№2 от 01.01.1981 (рег. 21.08.1980) «Срок действия продлен»
ГОСТ 12135-75ГОСТ 12135-75ГОСТ 12135-75ГОСТ 12135-75ГОСТ 12135-75ГОСТ 12135-75ГОСТ 12135-75
 




ГОСТЫ, СТРОИТЕЛЬНЫЕ и ТЕХНИЧЕСКИЕ НОРМАТИВЫ.
Некоммерческая онлайн система, содержащая все Российские Госты, национальные Стандарты и нормативы.
В Системе содержится более 150000 файлов нормативно-технической документации, действующей на территории РФ.
Система предназначена для широкого круга инженерно-технических специалистов.

Рейтинг@Mail.ru Яндекс цитирования

Copyright © www.gostrf.com, 2008 - 2026