Крупнейшая бесплатная информационно-справочная система онлайн доступа к полному собранию технических нормативно-правовых актов РФ. Огромная база технических нормативов (более 150 тысяч документов) и полное собрание национальных стандартов, аутентичное официальной базе Госстандарта. GOSTRF.com - это более 1 Терабайта бесплатной технической информации для всех пользователей интернета. Все электронные копии представленных здесь документов могут распространяться без каких-либо ограничений. Поощряется распространение информации с этого сайта на любых других ресурсах. Каждый человек имеет право на неограниченный доступ к этим документам! Каждый человек имеет право на знание требований, изложенных в данных нормативно-правовых актах!

  


 

ГОСТ 1205-73

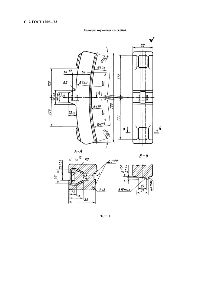
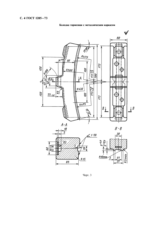
Колодки чугунные, тормозные для вагонов и тендеров железных дорог широкой колеи. Конструкция и основные размеры

Обозначение:ГОСТ 1205-73
Текущий статус документа: действующий
Название документа рус.:Колодки чугунные, тормозные для вагонов и тендеров железных дорог широкой колеи. Конструкция и основные размеры
Название документа англ.:Cast iron brake shoes for cars and tenders of broad gauge. Construction and basic dimensions
Дата актуализации текста:01.12.2013
Дата издания:01.11.2003
Дата введения:01.01.1975
Дата последнего изменения:25.11.2013
Переиздание:переиздание с изм. 1
Область применения:Настоящий стандарт распространяется на тормозные чугунные колодки для пассажирских, грузовых вагонов, тендеров и вагонов электросекций железных дорог широкой колей
Список изменений:№1 от 01.03.1980 (рег. 22.11.1979) «Срок действия продлен»
№2 от 01.06.1981 (рег. 20.02.1981) «Срок действия продлен»
№3 от 01.05.1985 (рег. 11.11.1984) «Срок действия продлен»
№4 от 01.01.1990 (рег. 30.06.1989) «Срок действия продлен»
№5 от 01.10.1992 (рег. 03.06.1992) «Срок действия продлен»
ГОСТ 1205-73ГОСТ 1205-73ГОСТ 1205-73ГОСТ 1205-73ГОСТ 1205-73ГОСТ 1205-73ГОСТ 1205-73
 




ГОСТЫ, СТРОИТЕЛЬНЫЕ и ТЕХНИЧЕСКИЕ НОРМАТИВЫ.
Некоммерческая онлайн система, содержащая все Российские Госты, национальные Стандарты и нормативы.
В Системе содержится более 150000 файлов нормативно-технической документации, действующей на территории РФ.
Система предназначена для широкого круга инженерно-технических специалистов.

Рейтинг@Mail.ru Яндекс цитирования

Copyright © www.gostrf.com, 2008 - 2026