Крупнейшая бесплатная информационно-справочная система онлайн доступа к полному собранию технических нормативно-правовых актов РФ. Огромная база технических нормативов (более 150 тысяч документов) и полное собрание национальных стандартов, аутентичное официальной базе Госстандарта. GOSTRF.com - это более 1 Терабайта бесплатной технической информации для всех пользователей интернета. Все электронные копии представленных здесь документов могут распространяться без каких-либо ограничений. Поощряется распространение информации с этого сайта на любых других ресурсах. Каждый человек имеет право на неограниченный доступ к этим документам! Каждый человек имеет право на знание требований, изложенных в данных нормативно-правовых актах!

  


 

ГОСТ 16817-71

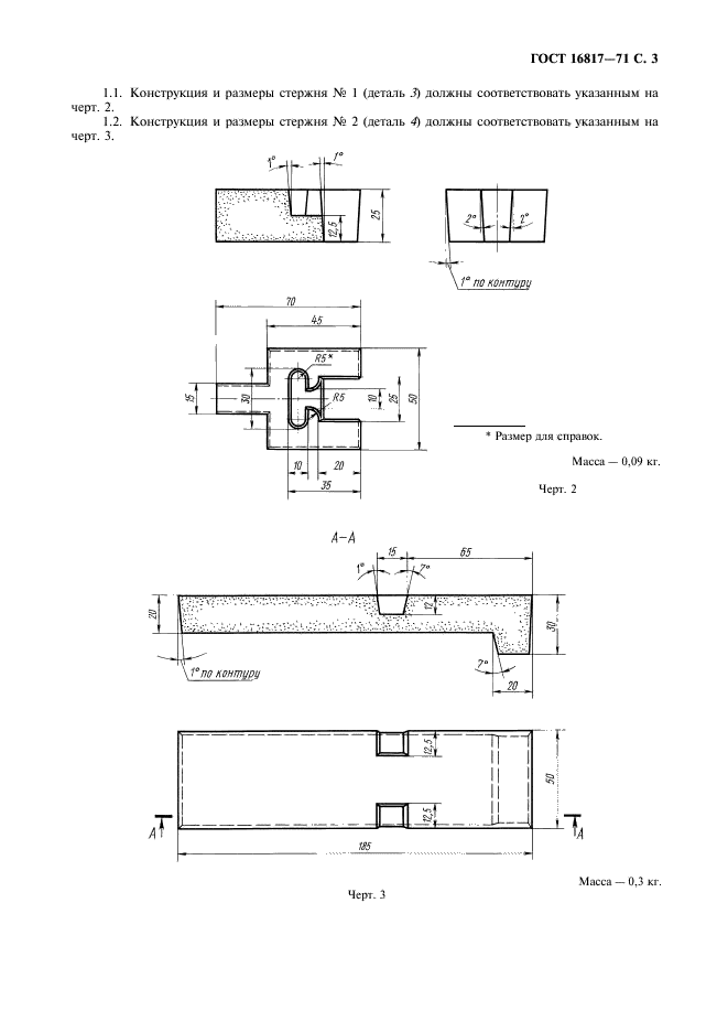
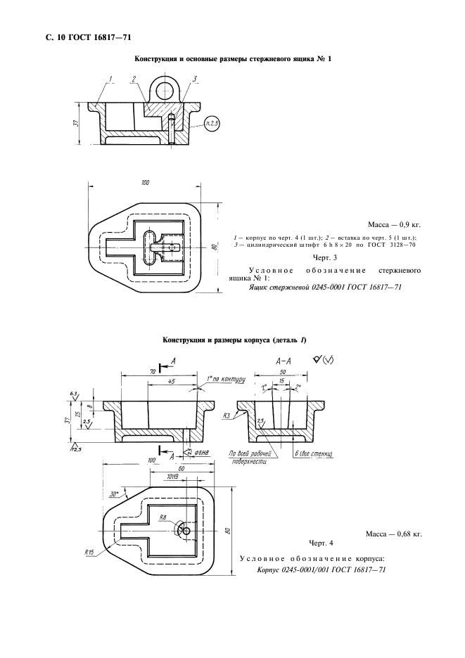
Формы песчаная и металлическая для определения линейной усадки цветных металлов и сплавов. Конструкция и размеры. Технические требования

Обозначение:ГОСТ 16817-71
Текущий статус документа: действующий
Название документа рус.:Формы песчаная и металлическая для определения линейной усадки цветных металлов и сплавов. Конструкция и размеры. Технические требования
Название документа англ.:Sand and metal moulds for determination of linear shrinkage of non-ferrous metals and alloys. Design and dimensions. Technical requirements
Дата актуализации текста:01.12.2013
Дата издания:01.08.1999
Дата введения:01.01.1972
Дата последнего изменения:22.05.2013
Переиздание:переиздание с изм. 1
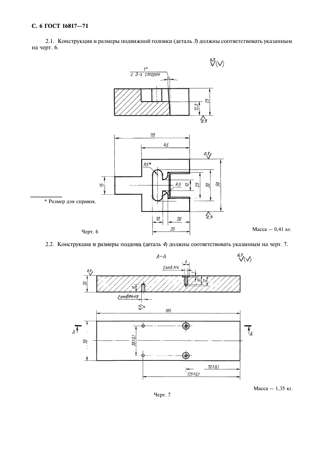
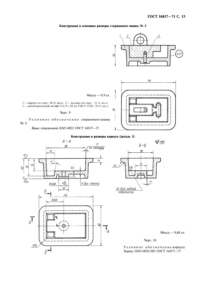
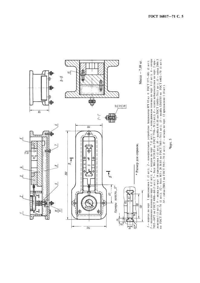
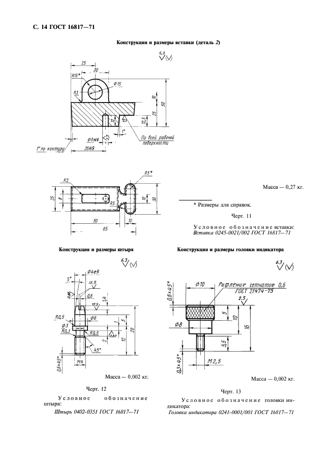
Область применения:Настоящий стандарт распространяется на песчаную (сухую) и металлическую (полукокильную) формы для определения линейной усадки цветных металлов и сплавов
Список изменений:№1 от 01.04.1981 (рег. 20.01.1981) «Срок действия продлен»
ГОСТ 16817-71ГОСТ 16817-71ГОСТ 16817-71ГОСТ 16817-71ГОСТ 16817-71ГОСТ 16817-71ГОСТ 16817-71ГОСТ 16817-71ГОСТ 16817-71ГОСТ 16817-71ГОСТ 16817-71ГОСТ 16817-71ГОСТ 16817-71ГОСТ 16817-71ГОСТ 16817-71ГОСТ 16817-71ГОСТ 16817-71ГОСТ 16817-71ГОСТ 16817-71
 




ГОСТЫ, СТРОИТЕЛЬНЫЕ и ТЕХНИЧЕСКИЕ НОРМАТИВЫ.
Некоммерческая онлайн система, содержащая все Российские Госты, национальные Стандарты и нормативы.
В Системе содержится более 150000 файлов нормативно-технической документации, действующей на территории РФ.
Система предназначена для широкого круга инженерно-технических специалистов.

Рейтинг@Mail.ru Яндекс цитирования

Copyright © www.gostrf.com, 2008 - 2026