Крупнейшая бесплатная информационно-справочная система онлайн доступа к полному собранию технических нормативно-правовых актов РФ. Огромная база технических нормативов (более 150 тысяч документов) и полное собрание национальных стандартов, аутентичное официальной базе Госстандарта. GOSTRF.com - это более 1 Терабайта бесплатной технической информации для всех пользователей интернета. Все электронные копии представленных здесь документов могут распространяться без каких-либо ограничений. Поощряется распространение информации с этого сайта на любых других ресурсах. Каждый человек имеет право на неограниченный доступ к этим документам! Каждый человек имеет право на знание требований, изложенных в данных нормативно-правовых актах!

  


 

ГОСТ 12636-67

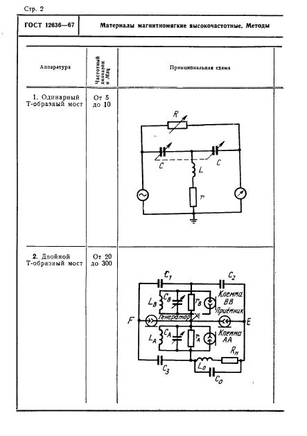
Материалы магнитомягкие высокочастотные. Методы испытаний в диапазоне частот от 1 до 200 МГц

Обозначение:ГОСТ 12636-67
Текущий статус документа: действующий
Название документа рус.:Материалы магнитомягкие высокочастотные. Методы испытаний в диапазоне частот от 1 до 200 МГц
Название документа англ.:High frequency magnet malleable materials. Testing methods at the range from 1 to 200 mc
Дата актуализации текста:01.12.2013
Дата издания:03.05.1967
Дата введения:01.01.1969
Дата последнего изменения:22.05.2013
Область применения:Настоящий стандарт распространяется на высокочастотные магнитномягкие материалы, применяемые в радиоэлектронике: магнитодиэлектрики (на основе карбонильного железа и альсиферов) и ферриты, и устанавливает методы их испытаний.
Стандарт не устанавливает методов испытаний ферритов, применяемых в диапазоне СВЧ, и ферритов с прямоугольной петлей гистерезиса.
Настоящим стандартом устанавливаются следующие методы испытаний магнитномягких материалов в диапазоне частот от 1 до 200 МГц, в слабых магнитных полях с напряженностью, равной или менее 0,1 коэрцитивной силы: мостовой метод, резонансный метод
ГОСТ 12636-67ГОСТ 12636-67ГОСТ 12636-67ГОСТ 12636-67ГОСТ 12636-67ГОСТ 12636-67ГОСТ 12636-67ГОСТ 12636-67ГОСТ 12636-67ГОСТ 12636-67ГОСТ 12636-67ГОСТ 12636-67ГОСТ 12636-67ГОСТ 12636-67ГОСТ 12636-67ГОСТ 12636-67ГОСТ 12636-67ГОСТ 12636-67ГОСТ 12636-67ГОСТ 12636-67ГОСТ 12636-67ГОСТ 12636-67ГОСТ 12636-67ГОСТ 12636-67ГОСТ 12636-67
 




ГОСТЫ, СТРОИТЕЛЬНЫЕ и ТЕХНИЧЕСКИЕ НОРМАТИВЫ.
Некоммерческая онлайн система, содержащая все Российские Госты, национальные Стандарты и нормативы.
В Системе содержится более 150000 файлов нормативно-технической документации, действующей на территории РФ.
Система предназначена для широкого круга инженерно-технических специалистов.

Рейтинг@Mail.ru Яндекс цитирования

Copyright © www.gostrf.com, 2008 - 2026