Крупнейшая бесплатная информационно-справочная система онлайн доступа к полному собранию технических нормативно-правовых актов РФ. Огромная база технических нормативов (более 150 тысяч документов) и полное собрание национальных стандартов, аутентичное официальной базе Госстандарта. GOSTRF.com - это более 1 Терабайта бесплатной технической информации для всех пользователей интернета. Все электронные копии представленных здесь документов могут распространяться без каких-либо ограничений. Поощряется распространение информации с этого сайта на любых других ресурсах. Каждый человек имеет право на неограниченный доступ к этим документам! Каждый человек имеет право на знание требований, изложенных в данных нормативно-правовых актах!

  


 

ГОСТ 31167-2003

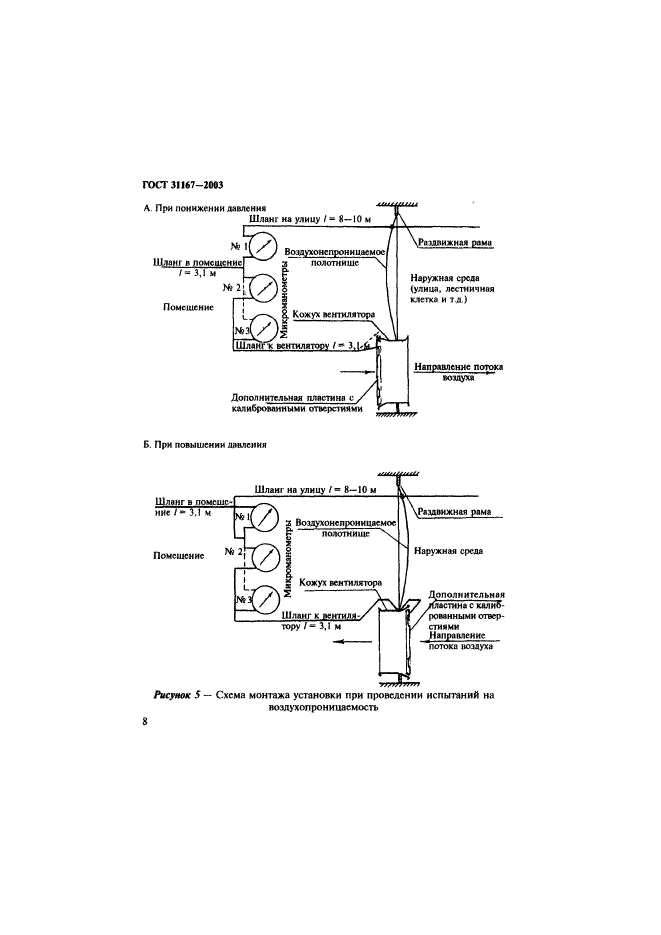
Здания и сооружения. Методы определения воздухопроницаемости ограждающих конструкций в натуральных условиях

Обозначение:ГОСТ 31167-2003
Текущий статус документа: заменён
Название документа рус.:Здания и сооружения. Методы определения воздухопроницаемости ограждающих конструкций в натуральных условиях
Название документа англ.:Buildings and structures. Methods for determination of air permeability of building envelope in field conditions
Дата актуализации текста:01.12.2013
Дата издания:16.12.2003
Дата введения:01.07.2003
Дата последнего изменения:22.05.2013
Дата окончания срока действия:01.03.2011
Область применения:Настоящий стандарт устанавливает методы определения воздухопроницаемости в натурных условиях ограждающих конструкций объекта: помещения, группы помещений (квартиры) жилых, общественных, административных, бытовых, сельскохозяйственных, вспомогательных помещений производственных зданий и сооружений, а также здания в целом.
Стандарт не распространяется на помещения и здания с открытыми по условию технологии проемами в ограждениях
Список изменений:№0 от 08.07.2005 (рег. 08.07.2005) «Дата введения перенесена»
Приложение №1:Поправка к ГОСТ 31167-2003
ГОСТ 31167-2003ГОСТ 31167-2003ГОСТ 31167-2003ГОСТ 31167-2003ГОСТ 31167-2003ГОСТ 31167-2003ГОСТ 31167-2003ГОСТ 31167-2003ГОСТ 31167-2003ГОСТ 31167-2003ГОСТ 31167-2003ГОСТ 31167-2003ГОСТ 31167-2003ГОСТ 31167-2003ГОСТ 31167-2003ГОСТ 31167-2003ГОСТ 31167-2003ГОСТ 31167-2003ГОСТ 31167-2003ГОСТ 31167-2003ГОСТ 31167-2003ГОСТ 31167-2003ГОСТ 31167-2003ГОСТ 31167-2003ГОСТ 31167-2003ГОСТ 31167-2003ГОСТ 31167-2003

Поправка к ГОСТ 31167-2003

Обозначение:Поправка к ГОСТ 31167-2003
Дата введения:08.07.2005


Поправка к ГОСТ 31167-2003
 




ГОСТЫ, СТРОИТЕЛЬНЫЕ и ТЕХНИЧЕСКИЕ НОРМАТИВЫ.
Некоммерческая онлайн система, содержащая все Российские Госты, национальные Стандарты и нормативы.
В Системе содержится более 150000 файлов нормативно-технической документации, действующей на территории РФ.
Система предназначена для широкого круга инженерно-технических специалистов.

Рейтинг@Mail.ru Яндекс цитирования

Copyright © www.gostrf.com, 2008 - 2026