Крупнейшая бесплатная информационно-справочная система онлайн доступа к полному собранию технических нормативно-правовых актов РФ. Огромная база технических нормативов (более 150 тысяч документов) и полное собрание национальных стандартов, аутентичное официальной базе Госстандарта. GOSTRF.com - это более 1 Терабайта бесплатной технической информации для всех пользователей интернета. Все электронные копии представленных здесь документов могут распространяться без каких-либо ограничений. Поощряется распространение информации с этого сайта на любых других ресурсах. Каждый человек имеет право на неограниченный доступ к этим документам! Каждый человек имеет право на знание требований, изложенных в данных нормативно-правовых актах!

  


 

ГОСТ 30970-2002

Блоки дверные из поливинилхлоридных профилей. Технические условия

Обозначение:ГОСТ 30970-2002
Текущий статус документа: действующий
Название документа рус.:Блоки дверные из поливинилхлоридных профилей. Технические условия
Название документа англ.:Doors of polyvinylchloride profiles. Specifications
Дата актуализации текста:01.12.2013
Дата издания:13.05.2003
Дата введения:01.03.2003
Дата последнего изменения:22.05.2013
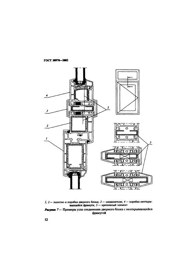
Область применения:Настоящий стандарт распространяется на дверные блоки из поливинилхлоридных профилей с полотнами рамочной конструкции и распашным открыванием для зданий и сооружений различного назначения.
Стандарт не распространяется на балконные дверные блоки, а также на дверные блоки специального назначения в части дополнительных требований к пожаробезопасности, стойкости к взлому и т.д.
Область применения конкретных марок изделий устанавливают в зависимости от условий эксплуатации в соответствии с действующими строительными нормами и правилами с учетом требований настоящего стандарта.
Стандарт может быть применен для целей сертификации изделий
ГОСТ 30970-2002ГОСТ 30970-2002ГОСТ 30970-2002ГОСТ 30970-2002ГОСТ 30970-2002ГОСТ 30970-2002ГОСТ 30970-2002ГОСТ 30970-2002ГОСТ 30970-2002ГОСТ 30970-2002ГОСТ 30970-2002ГОСТ 30970-2002ГОСТ 30970-2002ГОСТ 30970-2002ГОСТ 30970-2002ГОСТ 30970-2002ГОСТ 30970-2002ГОСТ 30970-2002ГОСТ 30970-2002ГОСТ 30970-2002ГОСТ 30970-2002ГОСТ 30970-2002ГОСТ 30970-2002ГОСТ 30970-2002ГОСТ 30970-2002ГОСТ 30970-2002ГОСТ 30970-2002ГОСТ 30970-2002ГОСТ 30970-2002ГОСТ 30970-2002ГОСТ 30970-2002ГОСТ 30970-2002ГОСТ 30970-2002ГОСТ 30970-2002ГОСТ 30970-2002ГОСТ 30970-2002ГОСТ 30970-2002ГОСТ 30970-2002ГОСТ 30970-2002ГОСТ 30970-2002ГОСТ 30970-2002ГОСТ 30970-2002ГОСТ 30970-2002ГОСТ 30970-2002ГОСТ 30970-2002ГОСТ 30970-2002ГОСТ 30970-2002ГОСТ 30970-2002ГОСТ 30970-2002ГОСТ 30970-2002ГОСТ 30970-2002ГОСТ 30970-2002
 




ГОСТЫ, СТРОИТЕЛЬНЫЕ и ТЕХНИЧЕСКИЕ НОРМАТИВЫ.
Некоммерческая онлайн система, содержащая все Российские Госты, национальные Стандарты и нормативы.
В Системе содержится более 150000 файлов нормативно-технической документации, действующей на территории РФ.
Система предназначена для широкого круга инженерно-технических специалистов.

Рейтинг@Mail.ru Яндекс цитирования

Copyright © www.gostrf.com, 2008 - 2026