Крупнейшая бесплатная информационно-справочная система онлайн доступа к полному собранию технических нормативно-правовых актов РФ. Огромная база технических нормативов (более 150 тысяч документов) и полное собрание национальных стандартов, аутентичное официальной базе Госстандарта. GOSTRF.com - это более 1 Терабайта бесплатной технической информации для всех пользователей интернета. Все электронные копии представленных здесь документов могут распространяться без каких-либо ограничений. Поощряется распространение информации с этого сайта на любых других ресурсах. Каждый человек имеет право на неограниченный доступ к этим документам! Каждый человек имеет право на знание требований, изложенных в данных нормативно-правовых актах!

  


 

ГОСТ 30815-2002

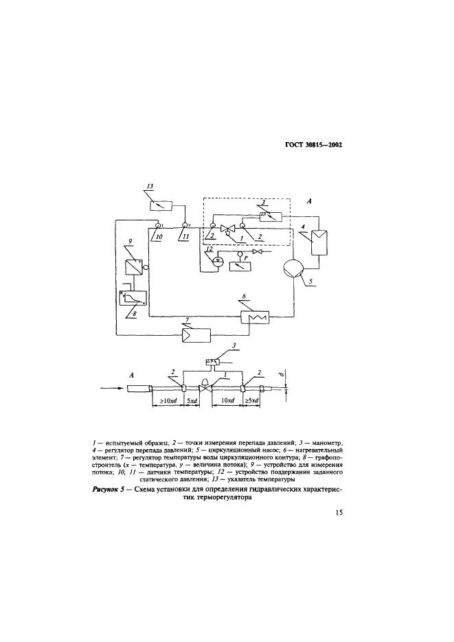
Терморегуляторы автоматические отопительных приборов систем водяного отопления зданий. Общие технические условия

Обозначение:ГОСТ 30815-2002
Текущий статус документа: действующий
Название документа рус.:Терморегуляторы автоматические отопительных приборов систем водяного отопления зданий. Общие технические условия
Название документа англ.:Automatic valves for regulation of temperature in heating devices of systems of water heating of buildings. General specifications
Дата актуализации текста:01.12.2013
Дата издания:11.09.2002
Дата введения:31.03.2002
Дата последнего изменения:22.05.2013
Область применения:Настоящий стандарт распространяется на автоматические терморегулирующие клапаны, работающие без использования постороннего источника энергии (прямого действия), предназначенные для регулирования тепловой мощности отопительных приборов в системах водяного отопления зданий и сооружений.
Терморегуляторы предназначены для работы в следующих условиях:
- параметры теплоносителя: избыточное рабочее давление - до 1,0 МПа включительно, температура - до 120 град. С;
- параметры окружающей среды: температура 5-45 град. С, относительная влажность 30-80%
ГОСТ 30815-2002ГОСТ 30815-2002ГОСТ 30815-2002ГОСТ 30815-2002ГОСТ 30815-2002ГОСТ 30815-2002ГОСТ 30815-2002ГОСТ 30815-2002ГОСТ 30815-2002ГОСТ 30815-2002ГОСТ 30815-2002ГОСТ 30815-2002ГОСТ 30815-2002ГОСТ 30815-2002ГОСТ 30815-2002ГОСТ 30815-2002ГОСТ 30815-2002ГОСТ 30815-2002ГОСТ 30815-2002ГОСТ 30815-2002ГОСТ 30815-2002ГОСТ 30815-2002ГОСТ 30815-2002ГОСТ 30815-2002ГОСТ 30815-2002ГОСТ 30815-2002ГОСТ 30815-2002ГОСТ 30815-2002ГОСТ 30815-2002ГОСТ 30815-2002ГОСТ 30815-2002ГОСТ 30815-2002ГОСТ 30815-2002ГОСТ 30815-2002ГОСТ 30815-2002ГОСТ 30815-2002ГОСТ 30815-2002ГОСТ 30815-2002
 




ГОСТЫ, СТРОИТЕЛЬНЫЕ и ТЕХНИЧЕСКИЕ НОРМАТИВЫ.
Некоммерческая онлайн система, содержащая все Российские Госты, национальные Стандарты и нормативы.
В Системе содержится более 150000 файлов нормативно-технической документации, действующей на территории РФ.
Система предназначена для широкого круга инженерно-технических специалистов.

Рейтинг@Mail.ru Яндекс цитирования

Copyright © www.gostrf.com, 2008 - 2026