Крупнейшая бесплатная информационно-справочная система онлайн доступа к полному собранию технических нормативно-правовых актов РФ. Огромная база технических нормативов (более 150 тысяч документов) и полное собрание национальных стандартов, аутентичное официальной базе Госстандарта. GOSTRF.com - это более 1 Терабайта бесплатной технической информации для всех пользователей интернета. Все электронные копии представленных здесь документов могут распространяться без каких-либо ограничений. Поощряется распространение информации с этого сайта на любых других ресурсах. Каждый человек имеет право на неограниченный доступ к этим документам! Каждый человек имеет право на знание требований, изложенных в данных нормативно-правовых актах!

  


 

ГОСТ Р 51350-99

Безопасность электрических контрольно-измерительных приборов и лабораторного оборудования. Часть 1. Общие требования

Обозначение:ГОСТ Р 51350-99
Текущий статус документа: действующий
Название документа рус.:Безопасность электрических контрольно-измерительных приборов и лабораторного оборудования. Часть 1. Общие требования
Название документа англ.:Safety requirements for electrical equipment for measurement, control, and laboratory use. Part 1. General requirements
Дата актуализации текста:01.12.2013
Дата издания:01.11.2001
Дата введения:30.06.2000
Дата последнего изменения:11.09.2013
Дата окончания срока действия:01.01.2014
Переиздание:переиздание
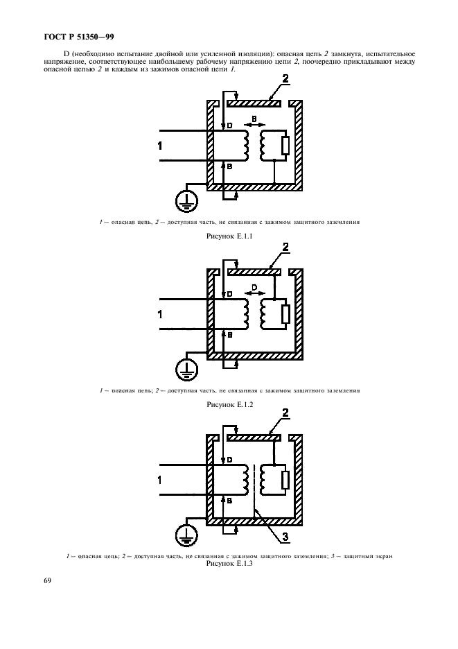
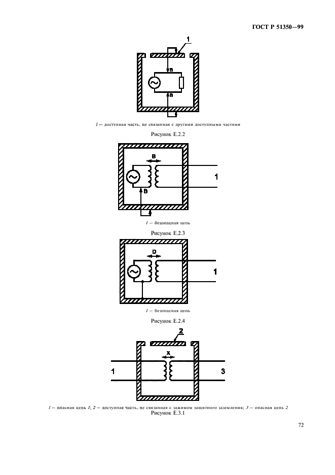
Область применения:Настоящий стандарт устанавливает общие требования безопасности к электрическим контрольно-измерительным приборам и лабораторному оборудованию. Для определенных типов этого оборудования требования безопасности дополнены или изменены специальными требованиями частных стандартов. Частный стандарт следует применять совместно с настоящим стандартом
Список изменений:№0 от 15.06.2001 (рег. 15.06.2001) «Дата введения перенесена»
№0 от 01.01.2014 (рег. 22.11.2012) «Текстовое изменение; Изменено заглавие»
Приложение №1:Поправка к ГОСТ Р 51350-99
ГОСТ Р 51350-99ГОСТ Р 51350-99ГОСТ Р 51350-99ГОСТ Р 51350-99ГОСТ Р 51350-99ГОСТ Р 51350-99ГОСТ Р 51350-99ГОСТ Р 51350-99ГОСТ Р 51350-99ГОСТ Р 51350-99ГОСТ Р 51350-99ГОСТ Р 51350-99ГОСТ Р 51350-99ГОСТ Р 51350-99ГОСТ Р 51350-99ГОСТ Р 51350-99ГОСТ Р 51350-99ГОСТ Р 51350-99ГОСТ Р 51350-99ГОСТ Р 51350-99ГОСТ Р 51350-99ГОСТ Р 51350-99ГОСТ Р 51350-99ГОСТ Р 51350-99ГОСТ Р 51350-99ГОСТ Р 51350-99ГОСТ Р 51350-99ГОСТ Р 51350-99ГОСТ Р 51350-99ГОСТ Р 51350-99ГОСТ Р 51350-99ГОСТ Р 51350-99ГОСТ Р 51350-99ГОСТ Р 51350-99ГОСТ Р 51350-99ГОСТ Р 51350-99ГОСТ Р 51350-99ГОСТ Р 51350-99ГОСТ Р 51350-99ГОСТ Р 51350-99ГОСТ Р 51350-99ГОСТ Р 51350-99ГОСТ Р 51350-99ГОСТ Р 51350-99ГОСТ Р 51350-99ГОСТ Р 51350-99ГОСТ Р 51350-99ГОСТ Р 51350-99ГОСТ Р 51350-99ГОСТ Р 51350-99ГОСТ Р 51350-99ГОСТ Р 51350-99ГОСТ Р 51350-99ГОСТ Р 51350-99ГОСТ Р 51350-99ГОСТ Р 51350-99ГОСТ Р 51350-99ГОСТ Р 51350-99ГОСТ Р 51350-99ГОСТ Р 51350-99ГОСТ Р 51350-99ГОСТ Р 51350-99ГОСТ Р 51350-99ГОСТ Р 51350-99ГОСТ Р 51350-99ГОСТ Р 51350-99ГОСТ Р 51350-99ГОСТ Р 51350-99ГОСТ Р 51350-99ГОСТ Р 51350-99ГОСТ Р 51350-99ГОСТ Р 51350-99ГОСТ Р 51350-99ГОСТ Р 51350-99ГОСТ Р 51350-99ГОСТ Р 51350-99ГОСТ Р 51350-99ГОСТ Р 51350-99ГОСТ Р 51350-99ГОСТ Р 51350-99ГОСТ Р 51350-99ГОСТ Р 51350-99ГОСТ Р 51350-99ГОСТ Р 51350-99ГОСТ Р 51350-99ГОСТ Р 51350-99ГОСТ Р 51350-99ГОСТ Р 51350-99ГОСТ Р 51350-99ГОСТ Р 51350-99

Поправка к ГОСТ Р 51350-99

Обозначение:Поправка к ГОСТ Р 51350-99
Дата введения:15.06.2001


Поправка к ГОСТ Р 51350-99
 




ГОСТЫ, СТРОИТЕЛЬНЫЕ и ТЕХНИЧЕСКИЕ НОРМАТИВЫ.
Некоммерческая онлайн система, содержащая все Российские Госты, национальные Стандарты и нормативы.
В Системе содержится более 150000 файлов нормативно-технической документации, действующей на территории РФ.
Система предназначена для широкого круга инженерно-технических специалистов.

Рейтинг@Mail.ru Яндекс цитирования

Copyright © www.gostrf.com, 2008 - 2026