Крупнейшая бесплатная информационно-справочная система онлайн доступа к полному собранию технических нормативно-правовых актов РФ. Огромная база технических нормативов (более 150 тысяч документов) и полное собрание национальных стандартов, аутентичное официальной базе Госстандарта. GOSTRF.com - это более 1 Терабайта бесплатной технической информации для всех пользователей интернета. Все электронные копии представленных здесь документов могут распространяться без каких-либо ограничений. Поощряется распространение информации с этого сайта на любых других ресурсах. Каждый человек имеет право на неограниченный доступ к этим документам! Каждый человек имеет право на знание требований, изложенных в данных нормативно-правовых актах!

  


 

ГОСТ Р 51349-99

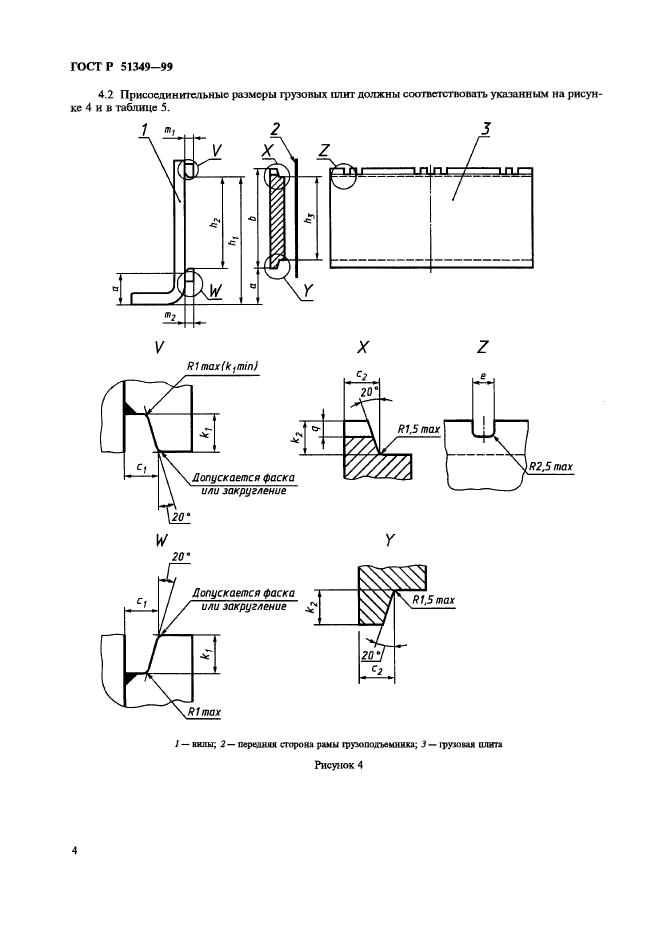
Транспорт напольный безрельсовый. Плиты грузовые, вилы. Технические условия

Обозначение:ГОСТ Р 51349-99
Текущий статус документа: действующий
Название документа рус.:Транспорт напольный безрельсовый. Плиты грузовые, вилы. Технические условия
Название документа англ.:Floor mounted lift trucks. Load plates, fork. Specifications
Дата актуализации текста:01.12.2013
Дата издания:17.01.2000
Дата введения:30.06.2000
Дата последнего изменения:22.05.2013
Область применения:Настоящий стандарт распространяется на вновь выпускаемые погрузчики, штабелеры с электроприводои или с двигателем внутреннего сгорания и устанавливает размеры, характеристики грузовых плит и вил, методы испытаний и маркировку вил
Список изменений:№0 от 26.03.2003 (рег. 26.03.2003) «Дата введения перенесена»
Приложение №1:Поправка к ГОСТ Р 51349-99
ГОСТ Р 51349-99ГОСТ Р 51349-99ГОСТ Р 51349-99ГОСТ Р 51349-99ГОСТ Р 51349-99ГОСТ Р 51349-99ГОСТ Р 51349-99ГОСТ Р 51349-99ГОСТ Р 51349-99ГОСТ Р 51349-99ГОСТ Р 51349-99ГОСТ Р 51349-99

Поправка к ГОСТ Р 51349-99

Обозначение:Поправка к ГОСТ Р 51349-99
Дата введения:25.03.2003


Поправка к ГОСТ Р 51349-99
 




ГОСТЫ, СТРОИТЕЛЬНЫЕ и ТЕХНИЧЕСКИЕ НОРМАТИВЫ.
Некоммерческая онлайн система, содержащая все Российские Госты, национальные Стандарты и нормативы.
В Системе содержится более 150000 файлов нормативно-технической документации, действующей на территории РФ.
Система предназначена для широкого круга инженерно-технических специалистов.

Рейтинг@Mail.ru Яндекс цитирования

Copyright © www.gostrf.com, 2008 - 2026